AGP EV21 Bedienungsanleitung

Original instructions
For your personal safety,
READ and UNDERSTAND before using.
SAVE THESE INSTRUCTIONS FOR
FUTURE REFERENCE.
Version:20110710
INSTRUCTION MANUAL

2
Power Input 1100W
Voltage See machine nameplate
No Load min-1 800
N-m 12.6
Spindle Thread 1/2"-20 Unf
Max. Mixing Paddle Diameter 120mm (4-11/16")
Drilling Capacity Steel: 13mm (1/2")
Wood: 35mm (1-3/8")
Switch Single Speed
Net Weight 3.3 Kg (7.3 Lbs )
Trigger Switch
Carbon Cap
Handle
13mm Chuck

3
GENERAL SAFETY INSTRUCTIONS
WARNING! Read all safety warnings and all instructions. Failure to follow the warnings
and instructions may result in electric shock, fire and/or serious injury.
Save all warnings and instructions for future reference. The term “power tool” in the warnings
refers to your mainsoperated (corded) power tool or battery-operated (cordless) power tool.
1) WORK AREA SAFETY
a) Keep work area clean and well lit. Cluttered or dark areas invite accidents.
b) Do not operate power tools in explosive atmospheres, such as in the presence of flammable
liquids, gases or dust. Power tools create sparks which may ignite the dust or fumes.
c) Keep children and bystanders away while operating a power tool. Distractions can cause
you to lose control.
2) ELECTRICAL SAFETY
a) Power tool plugs must match the outlet. Never modify the plug in any way. Do not use any
adapter plugs with earthed (grounded) power tools.
Unmodified plugs and matching outlets will reduce risk of electric shock.
b) Avoid body contact with earthed or grounded surfaces such as pipes, radiators, ranges and
refrigerators. There is an increased risk of electric shock if your body is earthed or grounded.
c) Do not expose power tools to rain or wet conditions.
Water entering a power tool will increase the risk of electric shock.
d) Do not abuse the cord. Never use the cord for carrying, pulling or unplugging the power
tool. Keep cord away from heat, oil, sharp edges or moving parts. Damaged or entangled
cords increase the risk of electric shock.
e) When operating a power tool outdoors, use an extension cord suitable for outdoor use. Use
of a cord suitable for outdoor use reduces the risk of electric shock.
f) If operating a power tool in a damp location is unavoidable, use an earth leakage circuit
breaker. Use of an earth leakage circuit breaker reduces the risk of electric shock.
3) PERSONAL SAFETY
a) Stay alert, watch what you are doing and use common sense when operating a power tool.

4
Do not use a power tool while you are tired or under the influence of drugs, alcohol or
medication. A moment of inattention while operating power tools may result in serious
personal injury.
b) Use personal protective equipment. Always wear eye protection. Protective equipment
such as dust mask, non-skid safety shoes, hard hat, or hearing protection used for appropriate
conditions will reduce personal injuries.
c) Prevent unintentional starting. Ensure the switch is in the off-position before connecting to
power source and/or battery pack, picking up or carrying the tool. Carrying power tools with
your finger on the switch or energising power tools that have the switch on invites accidents.
d) Remove any adjusting key or wrench before turning the power tool on. A wrench or a key
left attached to a rotating part of the power tool may result in personal injury.
e) Do not overreach. Keep proper footing and balance at all times. This enables better control
of the power tool in unexpected situations.
f) Dress properly. Do not wear loose clothing or jewelry. Keep your hair, clothing and gloves
away from moving parts. Loose clothes, jewelry or long hair can be caught in moving parts.
g) If devices are provided for the connection of dust extraction and collection facilities, ensure
these are connected and properly used. Use of dust collection can reduce dust-related
hazards.
4) POWER TOOL USE AND CARE
a) Do not force the power tool. Use the correct power tool for your application. The correct
power tool will do the job better and safer at the rate for which it was designed.
b) Do not use the power tool if the switch does not turn it on and off. Any power tool that
cannot be controlled with the switch is dangerous and must be repaired.
c) Disconnect the plug from the power source and/or the battery pack from the power tool
before making any adjustments, changing accessories, or storing power tools. Such
preventive safety measures reduce the risk of starting the power tool accidentally.
d) Store idle power tools out of the reach of children and do not allow persons unfamiliar with
the power tool or these instructions to operate the power tool. Power tools are dangerous in
the hands of untrained users.
e) Maintain power tools. Check for misalignment or binding of moving parts, breakage of parts
and any other condition that may affect the power tool’s operation. If damaged, have the
power tool repaired before use. Many accidents are caused by poorly maintained power
tools.
f) Keep cutting tools sharp and clean. Properly maintained cutting tools with sharp cutting
edges are less likely to bind and are easier to control.

5
g) Use the power tool, accessories and tool bits etc., in accordance with these instructions,
taking into account the working conditions and the work to be performed. Use of the power
tool for operations different from those intended could result in a hazardous situation.
5) SERVICE
a) Have your power tool serviced by a qualified repair person using only identical
replacement parts. This will ensure that the safety of the power tool is maintained.
Symbols used in this manual
V…….......volts
A…….......amperes
Hz……......hertz
W……......watt
~………....alternating current
n0………...no load speed
min-1……..revolutions or reciprocation per minute
............class II tool
CARTON CONTENTS
1. M14 Adaptor
2. 13mm chuck & key
3. Electric mixer/ drill machine
SPECIFIC SAFETY RULES AND SYMBOLS
1. Keep hands away from mixing paddle. Keep both hands on the handles. If both hands
are holding the machine, they cannot be hurt by the paddle.
2. Use only recommended mixing paddle
3. Tighten mixing paddle securely before operation.
4. Secure workpiece properly. Workpiece should be stable and firmly in position to avoid
danger
5. Allow the paddle to come to a complete stop before removing from the medium.

6
6. Check the paddle for cracks, bent shaft or other damage before operation. Replace
bent, cracked or damaged paddle immediately.
7. Never start the tool with the paddle laying on the floor or any dangerous position.
8. Important: After completing mixing medium, release power switch and wait for coasting
paddle to stop completely before removing from medium or putting the machine down.
9. Never operate the tool in an area with flammable solids, liquids, or gases. Sparks or hot
fragments could cause a fire or explosion.
10. Some mediums can be toxic. Take extra care to prevent inhalation and skin contact
when working with these materials. Request, and follow, any safety information available
from your material supplier.
11. There are certain applications for which this tool was designed.
12. The manufacturer strongly recommends that this tool NOT be modified and/or used for
any application other than for which it was designed. If you have any questions relative
to its application DO NOT use the tool until you have written the manufacturer and have
been advised.
Drill safety warnings:
• Wear ear protectors when impact drilling. Exposure to noise can cause hearing loss. NOTE
The above warning applies only to impact drills and may be omitted for drills other than
impact drills.
• Use auxiliary handle(s), if supplied with the tool. Loss of control can cause personal injury.
• Hold power tool by insulated gripping surfaces, when performing an operation wherethe
cutting accessory may contact hidden wiring or its own cord. Cutting accessory
contacting a "live" wire may make exposed metal parts of the power tool "live" and could
give the operator an electric shock.
Switching On and Off:
To start:simply squeeze the trigger.
BENCH STAND
For particularly precise work, we recommend that a bench stand be used.
Trigger Switch

7
TOOL CLAMP
When drilling workpieces, they must be secured tightly,e.g. with a tool clamp. This stops the
tool from twisting and thus prevents accidents.
OTHER TIPS
When drilling deep bores, dust and chips must always be removed by taking the drill bit out of
the bore.
SHARPENING DRILL BITS
Use only perfectly sharpened HSS drill bits for metal.
DRILLING IN METALS
It is necessary to use slow speed and light pressure when starting the hole.This will keep the bit
from wandering from the intended hole.When drilling a large hole, it's often helpful to drill a
smaller pilot hole. When drilling hard metals like steel, it's best to use cutting oil. Avoid using an
excessively large compression force. This will put unecessary wear on the bit and motor and
will not speed up drilling.
DRILLING IN WOOD
To prevent splits in the wood around the exit of the hole, place a piece of scrap wood
beneath the wood.
HOW TO USE THE TOOL
Effective control of this machine requires two-handed operation for maximum protection and
resistance to the start-up and operating torque.
Place the work properly and to hold the machine firmly WITH BOTH HANDS to prevent loss of

8
control which could cause personal injury.
Protect your eyes from injury with safety glasses or goggles.
WARNING: Keep the cord behind the operator and away from mixing area to prevent
it from becoming entangled in the paddle.
After completing the mixing operation, release the power switch and wait for the coasting
paddle to stop completely before putting the machine down.
Use hex shank paddle with the chuck or M14 shank paddle with the M14 adaptor
(Paddle not included)
KEEP TOOL CLEAN
Periodically blow out all air passages with dry compressed air every 100 hours of use. All plastic
parts should be cleaned with a soft damp cloth. NEVER use solvents to clean plastic parts.
They could possibly dissolve or otherwise damage the material. Wear safety glasses while using
compressed air. Every 200 hours, have the lubricant in the gearbox replaced by a qualified
service center.
MAINTENANCE
THE CARBON BRUSHES
The carbon brushes are a normal wearing part and must be
replaced when they reach their wear limit.
To replace: simply remove the brush caps and withdraw the
old brushes. Replace with new brushes (always replace as a
pair) ensuring that they align properly and slide freely. Then
replace the brush caps.
Carbon cap

9
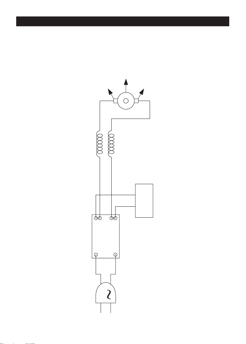
WIRING
SWITCH
EMC
CARBON
BRUSH
ARMATURE
AC
CARBON
BRUSH
STATOR
STATOR

10
9
10
7
13
14
15
11
12
13
1
28
42
23
24
37
45
NO.01~47 Version 1.5
47
8
41
35
30
38
39
36
33
32
34
31
2
3
4
5
6
13
16
17
18
46
19
20
40
21
25
26
27
25
26
27
29
22
EXPLODED VIEW
Inhaltsverzeichnis
Andere AGP Elektrowerkzeuge Handbücher

AGP
AGP EB24R Bedienungsanleitung

AGP
AGP P4K Bedienungsanleitung

AGP
AGP EB12 Bedienungsanleitung

AGP
AGP R13 Bedienungsanleitung

AGP
AGP HP1400 Bedienungsanleitung

AGP
AGP CG150 Betriebsanleitung

AGP
AGP EV32 Bedienungsanleitung

AGP
AGP 1800W Electric Beveler model B15 Bedienungsanleitung

AGP
AGP LY16 Bedienungsanleitung

AGP
AGP EB6T Bedienungsanleitung


















