3. Commissioning
On commissioning you have to adjust primarily the matching system
System survey:
Arr 1 : standard solar system
Arr 2 : solar system with after-heating
1
3
2
backwards forward
SET
(Selection / Adjustment mode)
Operation cont-
rol lamp
Arr 1 Arr 2
1.Ac power supply must be activated.The controller passes
an initialisation phase in which the operating control lamp
flashes red and green.After having finished the initialisation,
the controller is in automatic operation with factory set-
tings.The preadjusted system scheme is Arr 1.
2. - select Arr
- change into -mode (see 2.1)
- select the system scheme by Arr-characteristics
- adjustment is saved by pressing button
Now the controller is ready for operation and should enable
an optimum operation of the solar system by the factory
settings made.
4. Controller parameter and indication channels
4.1 Channel-overview
Legend:
x
Corresponding channel is available.
x*
Corresponding channel is available if the appropriate option
is activated.
Corresponding channel is only available if the option heat
quantity measurement is activated (OWMZ).
MEDT
The channel antifreeze content (MED%) is only shown if a
medium other than water orTyfocor LS / G-LS (MEDT
0 or 3) is used.The adjustment is only appropriate when
using other types of antifreeze.
Corresponding channel is only available if the option heat
quantity measurement is deactivated (OWMZ).
Please note:
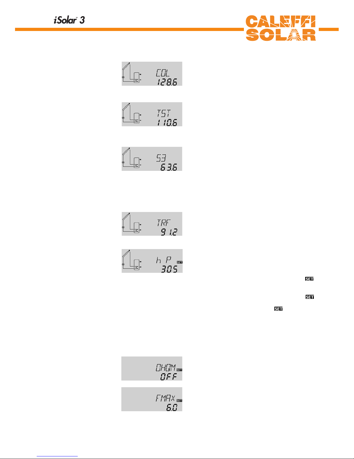
S3 and S4 are only indicated if sensors are connected.
channel Arr specification page
1 2*
COL x x Temperature collector 1 9
TST x Temperature tank 1 9
TSTL x Temperature tank 1 below 9
TSTU x Temperature tank 1 above 9
S3 x Temperature sensor 3 9
TRF Temperature return sensor 9
S4 Temperature sensor 4 9
h P1 x Operating hours relay 1 9
h P2 x Operating hours relay 2 9
kWh Heat quantity kWh 10
MWh Heat quantity MWh 10
Arr 1-2 System 8
DT O x x Switch-on temperature difference 10
DT F x x Switch-off temperature difference 10
S MX x x Maximum temperature tank 1 10
EM x x emergency temperature collector 1 10
channel Arr specification page
1 2*
OCX x x Option collector cooling collector 1 11
CMX x* x* Maximum temperature collector 1 11
OCN x x Option minimum limitation collector1 11
CMN x* x* Minimun temperature collector 1 11
OCF x x Option antifreeze collector 1 11
CFR x* x* Antifreeze temperature collector 1 11
OREC x x Option reccoling 11
O TC x x Option tube collector 12
AH O x Switch-on temp. for thermostat 1 12
AH F x Switch-off temp. for thermostat 1 12
OHQM x x Option WMZ 12
FMAX Maximum flow 12
MEDT Antifreeze type 10
MED% MEDT MEDT Antifreeze content 10
HND1 x x Manual operation relay 1 12
HND2 x x Manual operation relay 2 12
LANG x x Language 12
UNIT x x Change over °FAH / °CEL 12
PROG XX.XX Program number
VERS X.XX Version number