
~5~
SETTINGS
After pressing the settings button in the idle mode the menu will appear. To navigate through the
settings, use the "+" and "-", to confirm use the "settings" button, to go up a level use the "disconnect"button.
The settings consist of the following groups:
1. SYSTEM:
•Language - You can choose between Polish, English, Chinese
•Time - Current time and date
•Advanced - Information regarding the device, file management
2. SOUND:
•Selection of a ringtone - selection of a melody for an incoming call from 1 to 10
•Ringtone volume - selection of ringtone volume depending on the time of day
3. SETTINGS:
•Mode - in the CC4000 system, absolutely Slave
•Audio/video record mode - recording of the call on the SD card
•Support for 2 inputs - Does not apply in CC4000
•Opening Times - Does not apply in CC4000
•Motion detection - Does not apply in CC4000
•Messages - Does not apply in CC4000
4. ALARM:
•Inactive for the monitor working as Slave
5. DISPLAY:
•Settings of brightness, contrast and colour saturation of the image
6. FILES:
•File browser for files saved on the SD card of the device
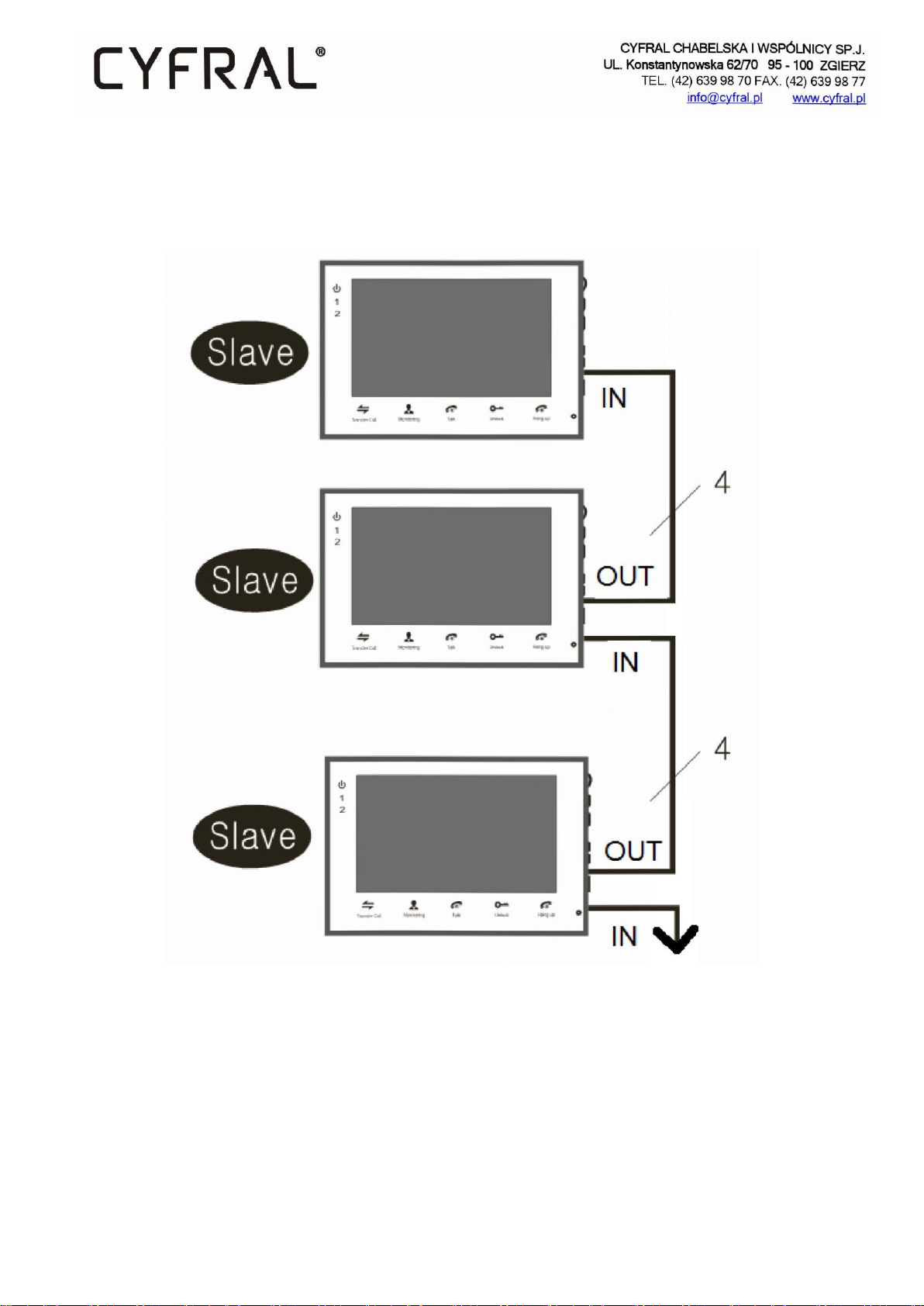
INTERCOM
V7 monitors can be cascaded up to three units per one property. The incoming call to the property will be
visible and audible on all, up to three, monitors. Answering a call on one of them will cause the other to turn
off. However, during a call, pressing the "intercom" button allows you to redirect the conversation to other
monitors.
In addition, pressing the "intercom" button in idle mode will allow you to conduct an internal call.