
Assembly Instructions
Safety System Multifunctional Gate Box MGBS
6(translation of the original operating instructions) 2150944-04-03/19
3. AE-R-S1 (for versions with escape release)
+ +
MGBS-H...-L-...
AE-R-S1
MGBS-H...-R-...
3.1. Preparing AE-R-S1
Profile width Length required for actuation
axis
Which EUCHNER parts are required? Necessary work steps
Without plates With mounting
plates
(4mm each)
D D+9 D+17
30mm 39mm 47mm Standard inner door handle
with 107mm axis (order no.158322)
Shorten to required length
40mm 49mm 57mm Standard inner door handle
with 107mm axis (order no.158322)
If necessary,
extended actuation axis (order no. 106761)
Without mounting plates:
none
With mounting plates:
Use extended actuation axis and protective sleeve and
shorten to required length
45mm 54mm 62mm Standard inner door handle
with 107mm axis (order no.158322)
and
extended actuation axis (order no. 106761)
Use extended actuation axis and protective sleeve and
shorten to required length
50mm 59mm 67mm Standard inner door handle
with 107mm axis (order no.158322)
and
extended actuation axis (order no. 106761)
Use extended actuation axis and protective sleeve and
shorten to required length
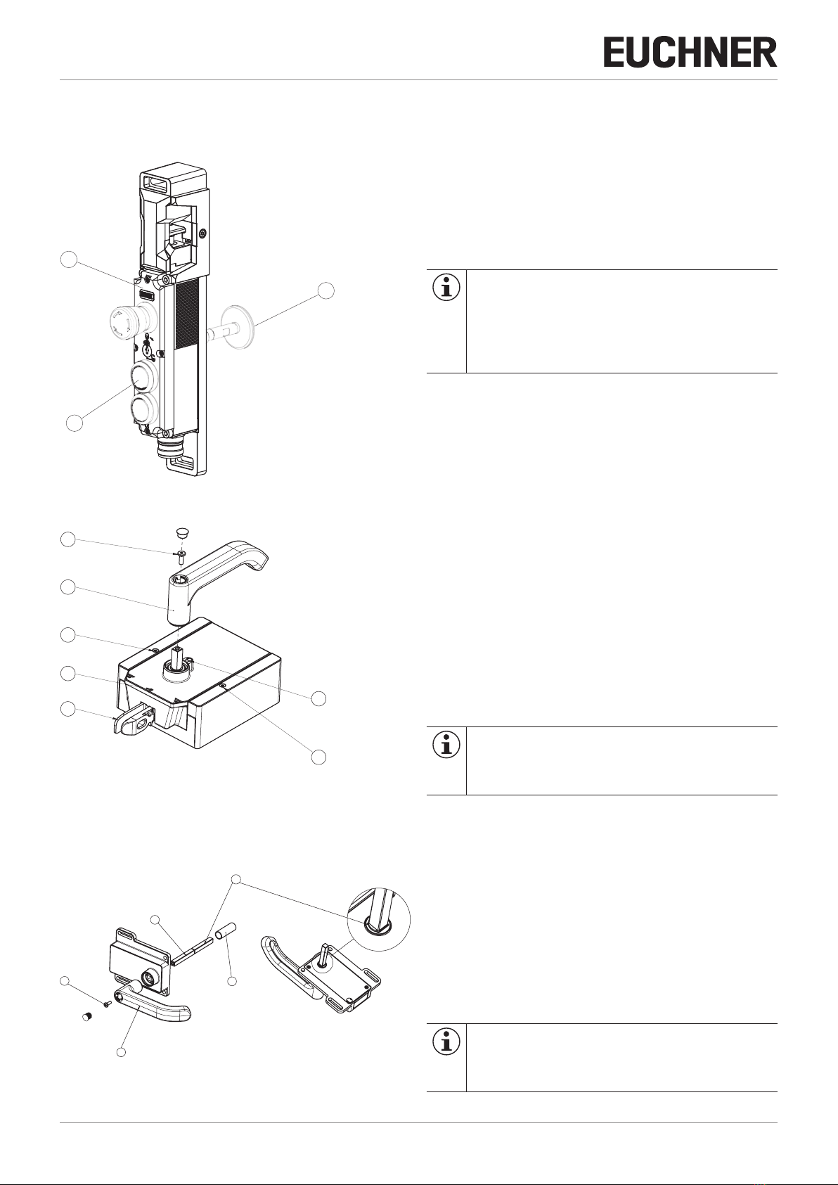
1Insert actuation axis.
The snap ring A must be in contact
with the inner door handle B.
2Fit door handle.
3Tighten fixing screw to 2Nm.
4Fit protective sleeve.
4
1
2
3
A
182
D - 1 *
107
39,5
D
11,5 55,5
55,5
M4
250
D + 9
Example without mounting plates
Standard
protective
sleeve
Extended
protective
sleeve
Standard
actuation axis
Extended
actuation axis
Escape release
Handle module
+4mm jfor each mounting plate
* Plus 4mm per plate