
TemplateA4_v20120211
7
4. Parameters, settings
As a result of the practical application, the parameters for evaluation depend on the control unit configuration and the parameter
settings.Theactualvaluesofanactivecontrolunitarespecifiedinthemenu[8-1-1](Pressure,customeraccess)and[8-2-3]
(Capacity,accessbyqualifiedpersonnel).FurtherinformationisavailablefromFlamcoSupportorFlamcoServiceondemand.
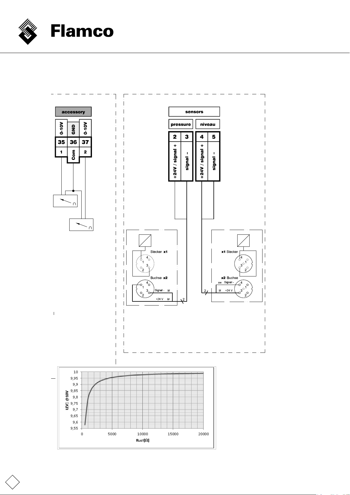
Recommended:IftheexpansionmodulecontrolunitcontainsanSD-card,anappropriatecongurationleforthesituationat
handcanbesavedtoadatacarrier.Thee-mailsenttoFlamcoSupportorServiceandtheleattachedmustbean
unambiguous communication.
Parameters, examples of the display of the terminal:
Display;Readoutinmenu[8-1-1](pressure) Display;Readdoutinmenu[8-2-3](volume)
Explanatory note:
Instances of excess pressure at the unit pressure sensor.
Psv 6.0 Maximum possible pressure setting of
thesafetyvalveofthesystem(<=nominal
pressureoftheunitinquestion).
Pe 5.4 Maximumendpressure(upperlimitofthe
working pressure range; Pe=Psv - closing
pressure difference of the safety valve in
question).
PA+ 0.2 Upper working pressure tolerance
(hysteresis),pressuredrop:“On”.
PA2.0 Working pressure, pressure drop, -pressure
increase: “Off”.
PA- 0.2 Lower working pressure tolerance
(hysteresis),pressureincrease:“On”.
»Workingpressurerange=1.8...2.2bar
P+ 0.3 Positive pressure, extra pressure to
guarantee excess pressure.
PO1.5 Calculated display value:
[PA]-[PA-]-[P+]=1,5bar
(z.B.Pstatisch+PDampf+Pdynamisch=
1,5bar)
Explanatory note:
Values assigned to the actual pressures of the capacity sensor.
100 Vessellledtocapacity.
94 Draining value: “On”.
2 Amount to be subtracted for draining: “Off”
(hysteresis),fallinglllevel(94-2=92).
3 Sum2,toppingup:“Off”,risinglllevel(6+3(*)+3=12;
upperwaterfeedvalue).
3(*) Sum1,toppingup:“On”,fallinglllevel(6+3=9).
6 Lower water feed value;
Riseinpressure:“On”,fallinglllevel;
[Riseinpressure:“On”.Sum2minus1,risinglllevel
(6+3-1=8)].
0 Operation balance value in start menu [9-6...7]
(Emptyvessel).
Note: Equipment for topping-up and draining may be optional
extras.
Terminal Terminal
ENG