
4
•
The product must be suitable for the corresponding applications and
environmental conditions without any restrictions.
•
Only use the product for its intended purpose (Ò Intended use).
•
Only use the product for permissible media.
•
If the operating instructions or the technical data are not adhered to, personal
injury and/or damage to property may occur.
•
The manufacturer assumes no liability or warranty for any consequences
caused by tampering with the product or incorrect use by the operator.
•
Installation, electrical connection, set-up, operation and maintenance of the
product must be carried out by qualified personnel authorised by the machine
operator.
•
Protect units and cables against damage.
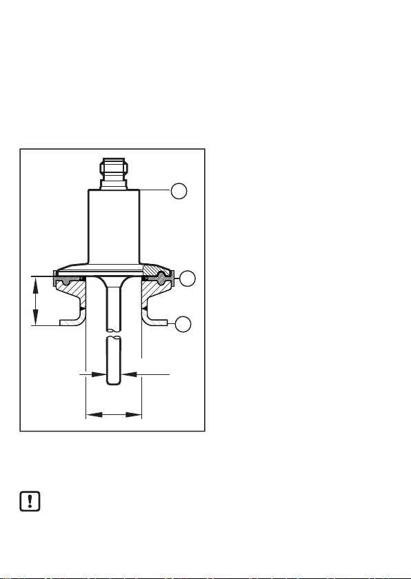
3 Intended use
The unit detects the medium temperature of liquid and gaseous media.
3.1 Application area
The temperature sensor is used together with a clamp connection in the beverage
and food industries.
4 Installation
CAUTION
During installation or in case of mechanical failure, high pressure or
hot media can leak from the system.
wRisk of injury caused by pressure or burns.
uEnsure that the system is free of pressure during installation.
uEnsure that no media can leak at the mounting location during
installation.
uPosition the unit in the process connection.
uSecure the unit with a suitable clamp.