
Residual heat indicator
Hsymbol that appears on the cooking zone
display indicates that the hob is still hot and may
be used to keep a small amount of food warm.
This symbol will soon turn to h symbol meaning
less hot.When power is cut off, residual heat
indicator will not light up and does not warn the
user against hot cooking zones.
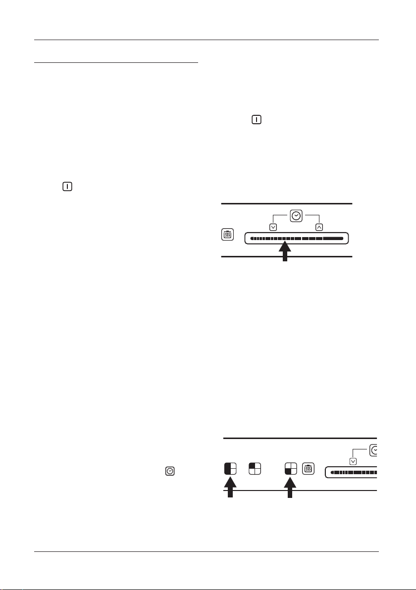
Turning on the cooking zones
1. Touch key to turn on the hob.
2. Touch the selection key of the cooking zone you
want to turn on, 0 appears on the cooking zone
display and the light of the relevant cooking zone
illuminates. If no operation is performed within 20
seconds, the hob will automatically return to
Standby mode.
Setting the temperature level
By touching the adjustment area or by sliding your
finger across the area, adjust the temperature
level between 0and 19.
If your hob gets overheated, the active cooking
zones will drop to the 14th level (if at a level higher
than 14) for safety reasons and cannot be set to a
high level. They can be set to a high level again
when the tempera-ture of your hob drops to a safe
level. If the hob gets heated to a critical level, it will
automatically turn off and the cooking zones
cannot be activated.
Turning off the cooking zones:
A cooking zone can be turned off in 3 different ways:
1. By dropping the temperature level to 0.
You can turn the cooking zone off by dropping the
temperature level to 0.
2. By using the turning off through the timer option
for the desired cooking zone. When the time is over
the timer will turn off the cooking zone assigned to
it. 0or 00 will appear on all displays. The
symbol on the hob display will disappear.
When the time is over, an audible alarm will sound.
Touch any key on the control panel to silence the
audible alarm.
3. By touching the relevant cooking zone symbol
for 3 seconds. Touch the symbol of the cooking
zone that you want to turn off for about 3 seconds.
Turning on the wide surface cooking zone
1. Touch key to turn on the hob.
2. Touch Wide Surface Cooking Zone Selection
key» 0appears on the left rear cooking zone
display and the light of the wide surface cooking
zone flashes.
3. By touching the adjustment area or by sliding
your finger across the area, adjust the
temperature level between 0 and 19.
Cooking zone starts to run. If another cooking
zone is selected or no operation is performed for
10 seconds, the light of the wide surface cooking
zone illuminates continuously.
Wide surface cooking zones sampling as
described on the left cooking zones. The same
application in right wide cooking surface is valid.
Turning on the wide surface cooking zone while
one or both of the left cooking zones are running
While one or both of the left cooking zones are
running, you can combine both cooking zones by
activating the wide surface cooking zone. Thus,
you can utilise a wider cooking zone just with the
same values.
1. Select one of the left cooking zones while one
or both of the left cooking zones are running.
Using the hob
0A
0
21
10
LAMONA Appliances