LAPP ETHERLINE ACCESS U04TP01T Montageanleitung

ETHERLINE ACCESS U04TP01T
Hardware Installation Manual
Disclaimer: U.I. Lapp GmbH tries to keep the content of this manual as accurate and as
updated as possible. This document is not guaranteed to be error-free, and we reserve the
right to amend it without notice to users.
Copyright © U.I. Lapp GmbH 2019. All rights reserved.
No part of this documentation may be excerpted, reproduced, translated, annotated or
duplicated, in any form or by any means without the prior written permission of U.I. Lapp
GmbH.

Notice for Safety Operation
The product performs reliably as long as it is used according to the guidance. Artificial
damage or destruction of the device should be avoided. Before using the device, read this
notice carefully for personal and equipment safety. Please keep the manual for further
reference. If the equipment is used in a manner not specified in this manual, the protection
provided by the equipment may be impaired. LAPP is not liable to any personal or equipment
damage caused by violation of this notice.
Do not place the device near water sources or damp areas. Keep the ambient relative
humidity within the range from 5% to 95% (non-condensing).
Do not place the device in an environment with high magnetic field, strong shock, or high
temperature. Keep the working and storage temperatures within the allowed range.
Install and place the device securely and firmly.
Please keep the device clean; if necessary, wipe it with a soft cotton cloth.
Do not place any irrelevant materials on the device or cables. Ensure adequate heat
dissipation and tidy cable layout without knots.
Wear antistatic gloves or take other protective measures when operating the device.
Avoid any exposed metal wires because they may be oxidized or electrified.
Install the device in accordance with related national and local regulations.
Before power-on, make sure the power supply is within the allowed range of the device.
High voltage may damage the device.
Power connectors and other connectors should be firmly interconnected.
Do not plug in or out the power supply with wet hands. When the device is powered on,
do not touch the device or any parts with wet hands.
Before operating a device connected to a power cable, remove all jewelry (such as rings,
bracelets, watches, and necklaces) or any other metal objects, because they may cause
electric shock or burns.
Do not operate the device or connect or disconnect cables during an electrical storm.
Use compatible connectors and cables. If you are not sure, contact our sales or technical

support personnel for confirmation.
Do not disassemble the device by yourself. When an anomaly occurs, contact our sales
or technical support personnel.
If any part is lost, contact our sales or technical support personnel to purchase the
substitute. Do not purchase parts from other channels.
Dispose of the device in accordance with relevant national provisions, preventing
environmental pollution.
In the following cases, please immediately shut down your power supply and contact your
LAPP representative:
Water gets into the equipment.
Equipment damage or shell damage.
Equipment operation or performance has abnormally changed.
The equipment emits odor, smoke or abnormal noise.

Contents
1 Product Overview...............................................................................................................1
2 Structure and Interface.......................................................................................................2
2.1 Front Panel ..................................................................................................................2
2.2 Top Panel.....................................................................................................................3
3 Mounting.............................................................................................................................3
3.1 Dimension Drawing......................................................................................................3
3.2 Mounting......................................................................................................................4
3.2.1 DIN-Rail Mounting.................................................................................................4
3.2.2 DIN-Rail Dismounting............................................................................................5
4 Connection .........................................................................................................................6
4.1 10/100Base-T(X) Ethernet Port....................................................................................6
4.2 Grounding....................................................................................................................8
4.3 Power Terminal Block..................................................................................................8
4.4 DIP Switches................................................................................................................9
5 LEDs.................................................................................................................................10
6 Basic Features and Specifications....................................................................................11

1
1 Product Overview
The ETHERLINE ACCESS U04TP01T entry-level unmanaged POE industrial Ethernet
switch is equipped with one 10/100Base-T(X) Ethernet port and four 10/100Base-T(X) PoE
ports compliant with IEEE802.3at/af. While transmitting data over the cable, PoE port can
output up to 30 watts to PoE terminals directly, eliminating the need of additional wiring.
The ETHERLINE ACCESS U04TP01T supports wide operating temperature range of -40℃
to 75℃, IP30 rated metal housing and 24VDC dual power inputs, becoming an economical
and harsh-environment-resistant solution for the ITS, video surveillance and other automation
applications.
Note:
This equipment has been tested and found to comply with the limits for a Class A
digital device, pursuant to part 15 of the FCC Rules. These limits are designed to
provide reasonable protection against harmful interference when the equipment is
operated in a commercial environment. This equipment generates, uses, and can
radiate radio frequency energy and, if not installed and used in accordance with the
instruction manual, may cause harmful interference to radio communications.
Operation of this equipment in a residential area is likely to cause harmful
interference in which case the user will be required to correct the interference at his
own expense.

2
2 Structure and Interface
2.1 Front Panel
Figure 1 Front Panel
(1) Power 1 LED
(2) Power 2 LED
(3) POE LED
(4) Link/ACT LED of 10/100Base-T(X) PoE Ethernet port (green)
(5) Speed LED of 10/100Base-T(X) PoE Ethernet port (yellow)
(6) Link/ACT LED of 10/100Base-T(X) Ethernet port (green)
(7) Speed LED of 10/100Base-T(X) Ethernet port (yellow)
(8) 10/100Base-T(X) PoE Ethernet port
(9) 10/100Base-T(X) Ethernet port

3
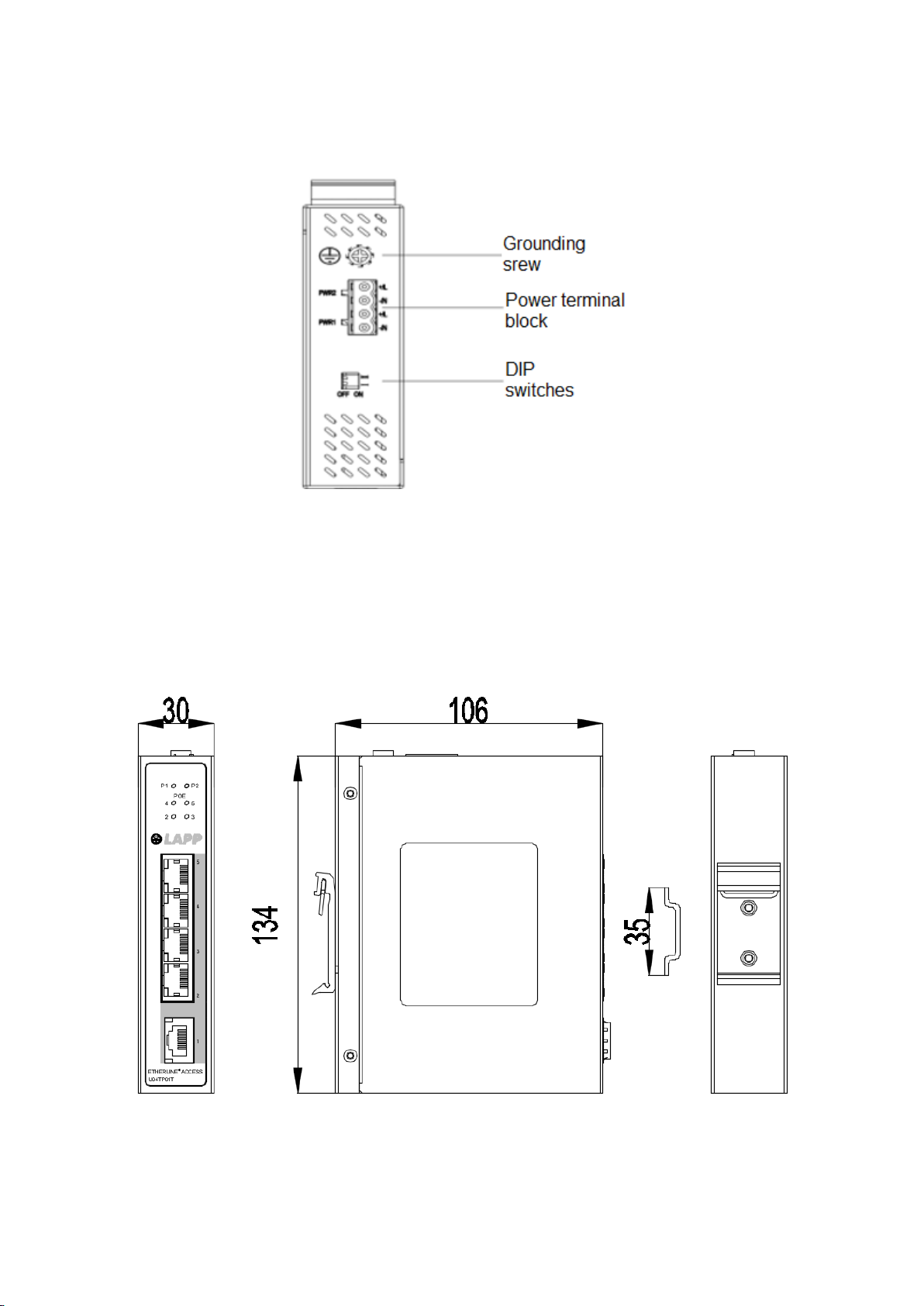
2.2 Top Panel
Figure 2 Top Panel
3 Mounting
3.1 Dimension Drawing
Figure 3 ETHERLINE ACCESS U04TP01T Dimensions (unit: mm)

4
Caution:
As part of the heat dissipation system, the housing of the switch becomes hot while working.
Please do not touch or cover the housing while the switch is working.
3.2 Mounting
The device supports DIN-rail mounting.
Mounting Environment:
1) The temperature, humidity and power supply is within the allowable range.
2) No direct sunlight, distant from heat source and areas without strong electromagnetic
interference.
3) The switches are open type equipment for indoor use.
4) The switches are intended for use in a Pollution Degree 2 industrial environment
5) The switches are recommended to be mounted in an enclosure that provides a minimum
protection rating of IP54.
Note:
Devices should be installed and accessed by service personnel or users who have been
instructed about the reasons for the restrictions applied to the location and about any precautions
that shall be taken.
3.2.1 DIN-Rail Mounting
Step 1: Select the mounting position for the device and guarantee adequate space and heat
dissipation.
Step 2: Insert the connecting seat onto the top of the DIN rail, and push the bottom of the
device inward and upward to ensure the DIN rail fits in the connecting seat. Make
sure the device is firmly installed on the DIN rail, as shown in the following figure.

5
Figure 4 DIN-Rail Mounting
3.2.2 DIN-Rail Dismounting
Step 1: As shown in the following figure, press the device downward and move the device in
direction 1 until the bottom of the device is detached from the DIN rail.
Step 2: Pull the device upward and move the device in direction 2 until the device is removed
from the DIN rail completely.
Figure 5 DIN Rail Dismounting
Caution:
Cut off the power and disconnect all cables before mounting, dismounting or moving the
equipment.
Inhaltsverzeichnis
Andere LAPP Schalten Handbücher





















