
240
±1
X-10
±1
min 105
до любых объектов
min 105
до любых объектов
min 200
Необходим
подвод воздуха
в нишу с
камином
min 500мм от горелки до
легковоспламеняющиеся
предметов
Выставить по горизонтали
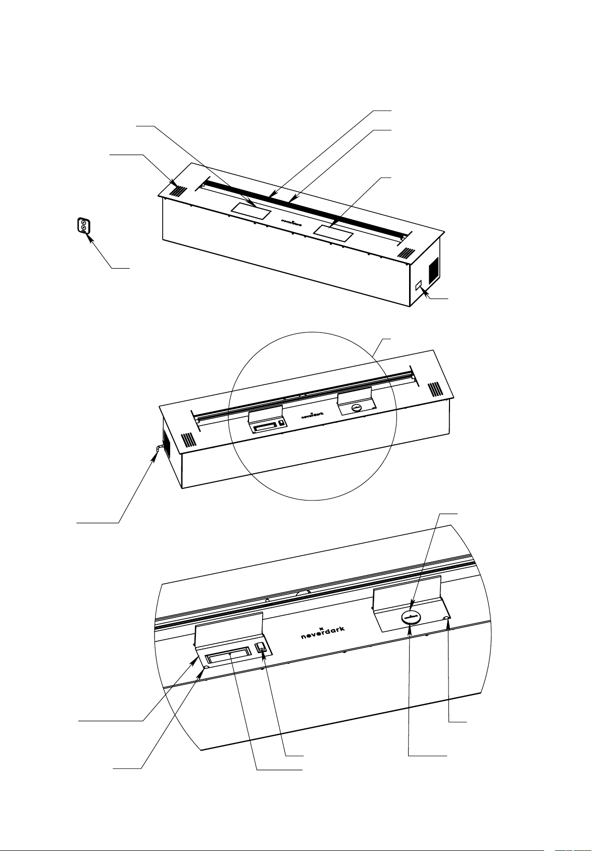
Подключение 220V
Розетка или точка
подключения
3x2.5 кабель
Вкрутить ручки для монтажа
(открутить после установки)
J
4
Маtt side
Glossy side
J
Protective
housing for
the glass
Screw М8
Screw in
8
9
J
8
J
Screw with hex key
[11]
The use of a separate line is compulsory
separate line
with a fuse and/or circuit breaker
ПРЕДУПРЕЖДЕНИЕ!
•
Установка камина не по уровню может привести к неисправности камина.
•
Подключать кабель к электросети должен только квалифицированный специалист.
•
Камин необходимо вставить в подготовленную нишу, взявшись за ранее установленные
•
ручки для установки, поле этого ручки необходимо снять (открутить) и не использовать в
процессе эксплуатации камина.
Если необходимо вынуть камин из ниши, установите установочные ручки.
•
Убедитесь, что изделие правильно установлено, и прочитайте прилагаемую к нему
•
инструкцию по эксплуатации.
Не заполняйте топливный бак и не включайте камин без предварительного ознакомления
•
с инструкцией по эксплуатации.
Если возникла необходимость извлечь камин из ниши, дождитесь, пока топливо
•
полностью выгорит полностью и на дисплее появится сообщение о том, что бак пуст,
затем отключите отсоедините камин от источника питания и извлеките его из ниши.
Сохраните данную инструкцию по установке на весь срок службы камина.
•
В комнате должен быть огнетушитель в пределах видимости
Безопасная установка прибора
7
7
NEVERDARK Fild Technical
documentation
Mounting (Sheet 3)
neverdark.one