
CONTENTS
SAFETY PRECAUTIONS........................................... 3
GENERAL GUIDE LINES...................................... 3
TOUCH – CURRENT CHECK............................... 3
PREVENTION OF ELECTROSTATIC DISCHARGE
(ESD) TO ELECTROSTATICALLY SENSITIVE (ES)
DEVICES.................................................................... 4
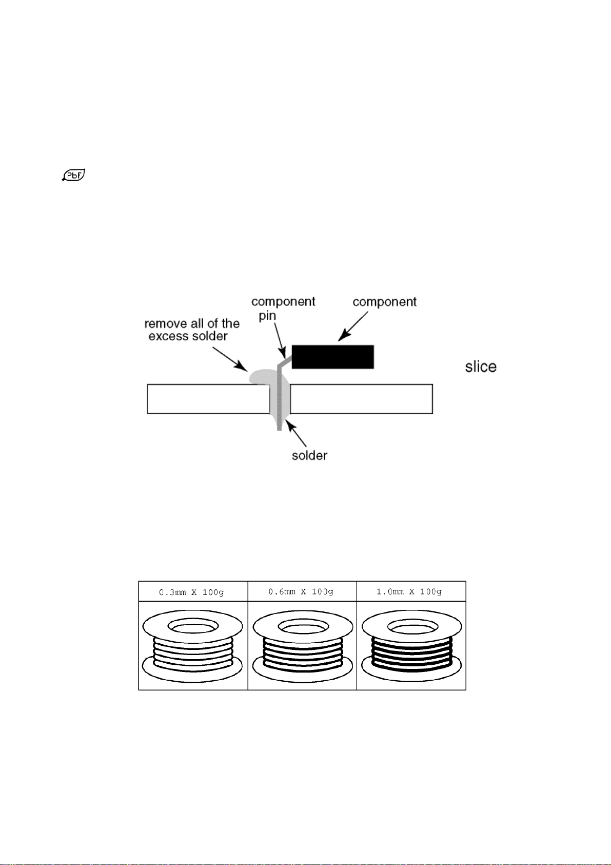
ABOUT LEAD FREE SOLDER (PBF)......................... 5
SUGGESTED PB FREE SOLDER........................ 5
SERVICE NAVIGATION............................................. 6
CHASSIS BOARD LAYOUT.................................. 6
SERVICE HINTS ........................................................ 7
APPLICABLE SIGNALS............................................ 10
SPECIFICATIONS.................................................... 11
TECHNICAL DESCRIPTION ................................….13
SPECIFICATION OF KEY FOR DTCP-IP,
C2MOD, CI PLUS, DIMORA, HDCP2, NETFLIX,
WIDEVINE, FREETIME....................................... 13
GENERAL INFORMATION................................. 13
REPLACEMENT OF ICS..................................... 13
MODEL AND KEYS ............................................ 13
SETTING INSPECTION............................................ 14
SERVICE MODE FUNCTION................................... 15
SYSTEM INFORMATION ....................................... 16
HOTEL MODE .......................................................... 17
DATA COPY BY USB MEMORY.............................. 18
DATA COPY FROM TV SET TO USB MEMORY..... 19
DATA COPY FROM USB MEMORY TO TV SET..... 20
OPTION BYTES DESCRIPTION.............................. 21
SELF CHECK ........................................................... 22
POWER LED BLINKING TIMING CHART................ 23
LCD PANEL TEST MODE........................................ 23
WIRING DIAGRAM................................................... 24
BLOCK DIAGRAM (1 OF 3)...................................... 25
PARTS LOCATION................................................... 28
LOCATION OF LEAD WIRING................................. 32
REPLACEMENT PARTS LIST NOTE....................... 33
REPLACEMENT PARTS LIST.................................. 34
SCHEMATIC DIAGRAMS NOTE.............................. 58
A-BOARD (1 OF 15) SCHEMATIC DIAGRAM.......... 59
P-BOARD (1 OF 4) SCHEMATIC DIAGRAM............ 74
K-BOARD SCHEMATIC DIAGRAM.......................... 78
CONDUCTOR VIEWS.............................................. 79