
NOTICE: Attempting to start another brewing cycle
before the Coffeemaker cools may result in an
incomplete cycle; the unit employs a thermal reset
switch to prevent overheating and may shut down.
Hints for Great-Tasting Coffee:
Always use fresh, cold water.
For stronger or milder coffee, increase or decrease the amount of
coffee grounds to suit your taste.
Finer coffee grinds, such as Drip and Automatic Drip Coffeemaker
(ADC) coffee grounds, promote a full extraction of flavor and a rich,
full-bodied coffee.
Store unused coffee grounds in a cool, dry place. After opening a
package of coffee grounds, tightly reseal it and store it in the
refrigerator to maintain freshness.
For optimum coffee taste, buy whole coffee beans and finely grind
them just before brewing.
Do not reuse coffee grounds; this greatly reduces the coffee’s flavor.
Reheating coffee is not recommended as coffee is at its peak flavor
immediately after brewing.
A clean Coffeemaker is essential for making great-tasting coffee.
Clean regularly as specified in the “Care and Maintenance” section.
A small amount of oil on the surface of brewed coffee is due to the
release of oil from roasted coffee beans. Heavily-roasted coffee
beans release more oil than others. Regularly cleaning your
Coffeemaker will prevent an oily buildup.
Care and Maintenance
WARNING: Always unplug the power cord from the electrical outlet
and allow to cool completely before cleaning or storing.
Cleaning:
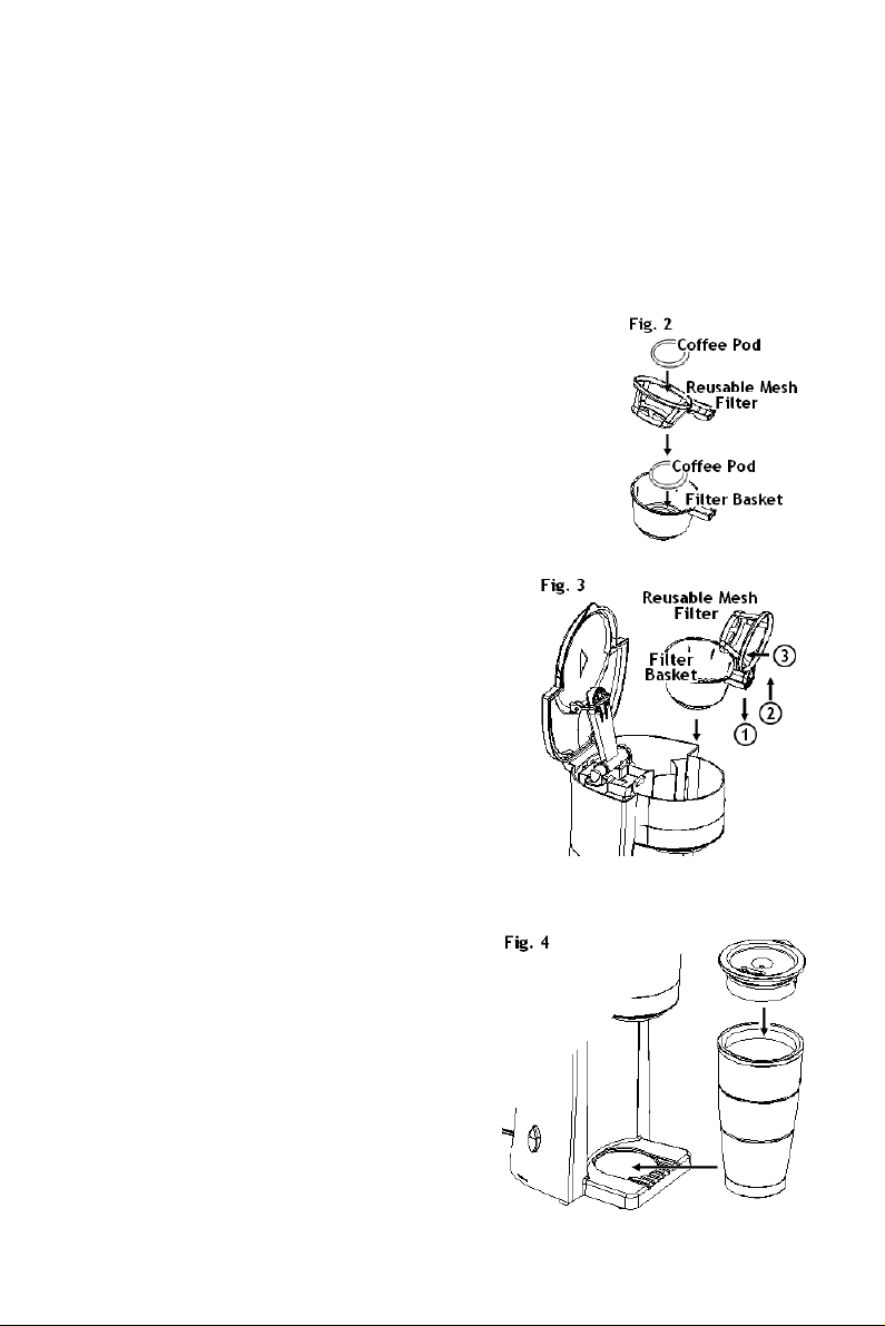
The Reusable Mesh Filter must be washed by hand and the travel
mug, Lid, and Filter Basket may be placed on the upper rack of a
dishwasher for cleaning or hand wash with warm, soapy water; this