8SAMSUNG ELECTRONICS CO., LTD
5-1. Trouble Diagnosis
No Item Cause and treatment
1 The power is not supplied - Is the PCB connector connected well?
- Is the voltage normal?
- Is the power supply plug connected well?
- Is the noise filter connected well?
- Is the secondary output of the power supply transformation normal?
- Is the fuse disconnected? (option)
• If above points are not found, the PCB assembly is out of order.
Replace it.
2 The water is not supplied. - Is the knob open?
- Did you push START/PAUSE button after selecting the course?
- Is the water supply valve connected well?
- Is the winding of the water supply valve continuous?
- Is the connection and operation of the pressure switch normal?
• If above points are not found, the PCB assembly is out of order.
Replace it.
3 The wash does not start though - Is the connection and operation of the pressure switch normal?
the water supply is stopped. - Is the pressure switch hose damaged so that the air is leaked?
- Is the pressure switch hose bent?
- Check the operation of the water level switch.
• If above points are not found, the PCB assembly is out of order.
Replace it.
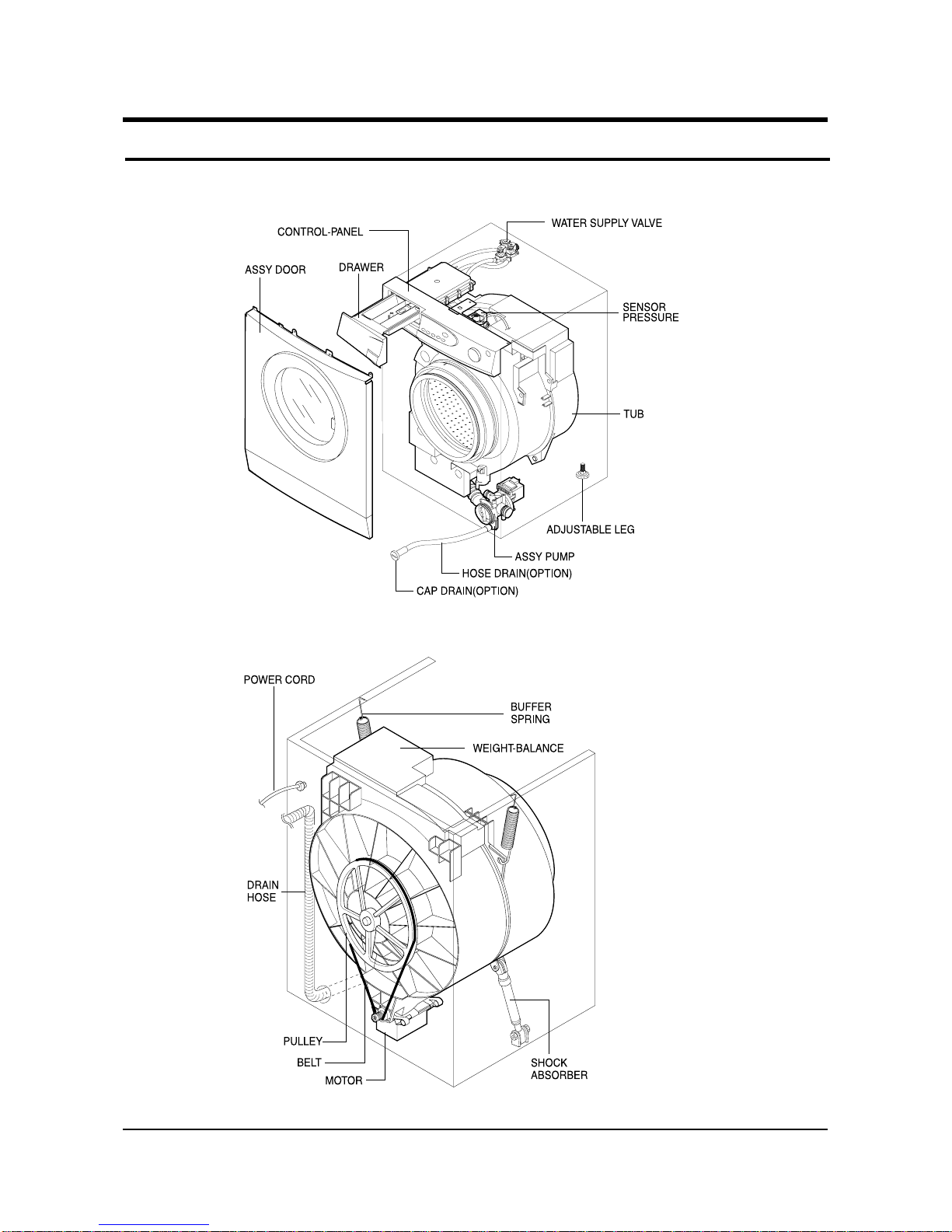
4 The drum does not rotate - Is the belt connected well?
during washing. - Is the winding of the motor continuous?
(Rotor winding, stator winding, generator)
- Is the motor protector normal?
• If above points are not found, the PCB assembly is out of order.
Replace it.
5 The drum rotates by one direction - The PCB assembly is out of order. Replace it.
during washing. (The drum rotates (Inversion relay open trouble)
to one direction for SPIN.)
6 Drainage problem. - Is the drainage hose bent?
- Is the winding of the drainage pump continuous?
- Is the drain filter clogged by the waste?
• If above points are not found, the PCB assembly is out of order.
Replace it.
7 Dehydration problem. - The unbalance is detected.
- Put in the laundry uniformly and start again.
8 Abnormal noise during SPIN. - Is the pulley nut loosen?
- Is the transport safety device removed?
- Is the product installed on the level and stable place?
(Little noise may be generated during the high-speed SPIN.)
9 Leak breaker or current/leak <When the leak breaker and current breaker is installed separately>
breaker is down during washing. - When the leak breaker is down, check and make the earth of the outlet.
- When the current is down, the current is leaked.
<Is the breaker down when the leak/current breaker is combined?>
- Check the rated capacity of the current and leak breaker.
The current breaker may be down due to the lack of the current when the
wash machine and other apparatus are used.
In this case, execute the cold water wash to check whether the current
capacity is lack.
10 The heating is not executed. - Is the wash heater terminal unplugged?
- Is the wash heater normal?
- If above points are not found, the PCB assembly is out of order.
Replace it.