V2C TRYDAN Bedienungsanleitung

TRYDAN

Dear Customer, The entire V2C team would like to thank you for purchasing one of our e-Chargers. Our passion for design and
innovation makes all our products leaders in technology and design. If you have any suggestions for improvement, you can
send us an email to info@v2charge.com.
We hope you enjoy it. Thank you, the V2C Team.
1
INDEX
1. Safety warnings 2
2. Legal notice 2
3. General characteristics 3
4. V2C Led lighting indications 4
5. V2C Cloud 4
6. Dynamic power control 7
7. Alexa 8
8. Fitting and removal of the hose 8
9. Navegation menu interface 8
10. Support 13

· The owner is obliged to comply with the safety instructions. V2C accepts no liability for any
claims arising from such non-compliance.
· This mode 3 charging point is classified in accordance with section 5 of UNE-EN 61851-1 in an EV
power supply system connected to an AC mains supply. Depending on the version chosen, the
EV power supply system will be plug and cord or permanently connected. It can be used both
outdoors and indoors, and can be used in both restricted and unrestricted access.
· Never use damaged, worn or dirty charging connectors.
· The owner shall ensure that the charger is always operated in perfect condition.
· The charging plug or connector (including the charging cable) and the charging station
housing must be checked regularly for damage (visual inspection).
· In the event of a defect, the charging station must be disconnected and replaced.
· Repairs to the charging station are prohibited and may only be carried out by the manufacturer
(e-Charger must be replaced).
· Do not make any unauthorized change or modifications to the charging station!
· The use of adapters or converters/prolongers is not permitted.
· Do not remove any identification such as safety symbols, warning signs, type plates,
nameplates or line markings!
· Ventilation: Due to the possible release of toxic or explosive gases during the indoor charging
process, some require an external ventilation system.
· Unplug the charging cable by pulling on the connector, never on the cable. Danger of damage!
· Never clean the charging station with a high-pressure water jet (hose, high-pressure cleaner,
etc.)
1. SAFETY WARNINGS
This manual is subject to change without notice. The images in this manual contained in this
manual are representative and may differ slightly from the actual products.
2. LEGAL NOTICE
2

e-Charger: Trydan
Color: Black
Material: Polycarbonate MVR
Weight: 2 kg (without hose) / 2,5 kg (with hose and protections)
Hose length: 5 m / 10 m
Hose type: Lisa / De muelle
Operating temperature: -15º a 45º
Storage temperature: -40º a 70º
Display*: 7”
Illumination according to charge state.
*Depending on model.
Product number composition
3. GENERAL CHARACTERISTICS
3
Model TRY
Intensity 32
Grid type Monophase 1
Three-phase 3
Hose type Smooth 5m L5
10m L10
Spring M
Socket S
Protections P
Schuko SC
Accessories:
Leak detector V2C-F
Remote control V2C-R
Cable support V2C-SOP
Stand V2C-PED
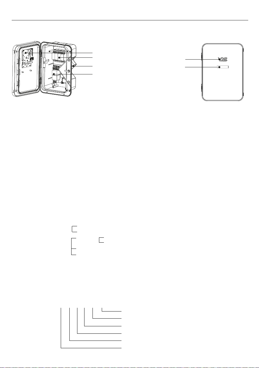
Control board
Protections
Hose support
Power plate
LED lighting
according to
charge status
Display
Schuko
Leak detector
5m smooth hose
Single-phase grid type
Maximum recharge current 32A
Trydan e-Charger
TRY32-1-L5-P-SC

4. V2C LED LIGHTING INDICATIONS.
5. V2C CLOUD
The V2C logo on the front of the e-Charger lights up according to the charging status:
White: the vehicle is not connected. White flashing: e-Charger disabled.
Blue flashing: Vehicle is charging. The speed of the flashing is directly related to the
directly related to the intensity of the charge.
Light blue: Timer activated. Charging is scheduled.
Green: Vehicle charging is complete. Green flashing: After configuring the internet, it reports
that it is connected to V2C Cloud via WiFi.
Red: Error 1 (Communication) or Error 2 (Message).
Pink: the e-Charger is being updated.
Download the App
Create an account
1. On the 'Login' screen click on "Sign up here". (You can also log in to the app using your Google
or Apple account).
2. Enter your email and password and tap on 'Create account'.
3. Access the email address provided above and verify your account by clicking on the link.
4. Your account is now created. You can log in to the app with your email and password.
From Android. From iOS.
4

5
Add your e-Charger
1. On the main screen of the app, click on the '+' icon at the top right.
2. Enter the ID number of the charging point manually or by scanning the QR code on the
sticker on the charger.
3. Add a name (you can change it later).
4. Click on "Add charger".
Find the label containing the
serial number on the side of
the e-Charger.
Program a charge
Charges can be programmed for Bluetooth or WiFi devices.
1. Access the app and tap on the charging point.
2. Click on the calendar icon. You have two timers: Timer 1 and Timer 2. Select the day of the week
and the time you want it to be activated. You can work with both in combination. For example,
Monday from 16.30-18.30 in timer 1 and Monday from 19.15 to 20:00 in timer 2. So that between
18:30 and 19:15 the recharging point will be stopped.
View statistics.
View statistics
- Global statistics of all our chargers: Click on the button at the top right.
- Statistics of a single charger: Select the e-Charger you wish to consult and then select the icon
with the 3 dots.

6
Global statistics Statistics of a single charge
Update your e-Charger
When your charger needs updating you will receive a notification.
Make sure you have a stable WiFi connection.
2. Click on the
settings icon at the
top right.
1. Select the
charger.
3. Scroll to the bottom
of the page and click
on 'Update fimware'.
If the 'Update fimware' option does not appear, this means that you already have the latest
version.

6. DYNAMIC POWER CONTROL
7
1. Log in to the V2C
Cloud application.
2. Select the e-Charger and
access its configuration.
4. Activate dynamic power
control and select the meter
and type of installation.
5. Go back to the configuration
screen and access 'Configure
dynamic control'.
3. Click on 'Dynamic
power control'.
7. Establish different time slots and the
maximum contracted power. In the case of
having a single power range, add the timeta-
ble from 00:00 to 24:00 both daily and at
weekends. If it is a photovoltaic installation,
indicate the operating mode in each time slot
(PV + Minimum power, Exclusive PV or Grid +
Photovoltaic).
6. Specify the minimum
recharge current (> 6 Amps)
and maximum current
(< 32 Amps). After select
‘Configure installation power’.

8. FITTING AND REMOVAL OF THE HOSE
Positioning the hose
1. Insert the hose into the holder, leaving a small gap at the bottom so
that it does not collide with the integrated locking clip.
2. Slide the hose down to snap it into the integrated locking clip
Removing the hose
1. Slide the hose upwards to release it from the locking clip.
2. Pull the hose outwards, removing it out of the hose holder.
8
Locking clip
7. ALEXA
Pair your Alexa device with your e-Charger for a voice-controlled, immersive technology
experience.
Pair your e-Charger with Alexa by following the instructions below:
https://v2charge.com/wp-content/uploads/2022/05/Link-Alexa.pdf
Get to know Alexa's functional commands:
https://v2charge.com/alexa-functional-commands/
9. NAVEGATION MENU INTERFACE
Trydan has two buttons at the top of the left side.
With these two buttons we can change the parameters (by long presses) and change the
property we wish to modify (by long presses). The upper button is assigned to forward (+) and
the lower one to backward (-).
To enter the configuration menu, both buttons must be held down for 2 seconds. The charger
must not be locked.
Language
The first parameter that we can change is the language. With long presses,
we can select between Portuguese, English or Spanish. Once the desired language has been
selected, we will advance to the next parameter with a short press on the upper button.

9
Dynamic control
If you have a consumption meter connected to Trydan, you can select YES to the dynamic
control so that the load intensity varies according to the current total consumption and the load
is as efficient as possible. If you do not have such a meter, select NO and go to the 'Maximum
intensity' section.
Type of installation
Trydan is able to communicate with most inverters on the market and thus manage the surplus
of your photovoltaic installation. Therefore, we can choose between 4 modes: Single-phase,
Three-phase, Single-phase-Photovoltaic and Three-phase-Photovoltaic.
Programmed mode
Indicates in which charging mode the Trydan is currently in.
Charging mode
With photovoltaic, we can tell the charger to adjust to our needs by means of three available
charging modes:
- Maximum power (Grid + Photovoltaic)
· Allows charging at maximum power, taking advantage of the available contracted power plus
photovoltaic generation.
· Recommended for use at night. As there is no production at night, the photovoltaic will be 0.
- Minimum power (PV + Minimum power)
· In this mode, only a maximum of 1.5 kW from the grid + all the PV generation will be used.
· The dynamic control is programmed to give priority to the house. There are several
conditions that have an influence:
1. If the consumption of the household is equal to the contracted power, it will stop using the
minimum of 1.5 kW from the grid. The car will only charge with what is generated by the
photovoltaic if solar energy is available.
2. In case the car depends on the PV generation, it is important to stress as a general rule that
the car needs at least 6A or 1.2 kW to start charging.
- Exclusive photovoltaic (Exclusive PV)
· The car will only charge from the power being generated by the self-consumption PV system
that is not required by the house. If it does not have enough PV power, charging will stop
· Requires a decent solar installation, as the minimum charging power for an electric car is
1.2 kW.
Andere Handbücher für TRYDAN
3
Inhaltsverzeichnis
Andere V2C Akkuladegerät Handbücher




















