
4 IOM-1049
SECTION IV
IV. START-UP
Operation of the Model 1049 is automatic once the set
pressure has been set. (The set pressure is bench-set
per the customer’s specified setting at the factory prior
to shipment.) NOTE: The set pressure is defined as
the pressure at which the valve should start to open on
increasing tank pressure.
To adjust the set pressure, remove the hex cap at the
top of the valve and loosen the jam nut around the
adjusting screw. Clockwise rotation of the adjusting
screw will increase the set pressure. Counter clockwise
rotation will decrease the set pressure. Do not adjust
the set pressure beyond the nameplate range. Tighten
the jam nut after adjustments are made and replace
the hex cap.
For the valve to be in the closed position, tank pressure
must reach the actuator though the pilot.
Upon initial start-up, the valve may be opened for a
few seconds, but will close when the pressure in the
actuator chamber reaches tank pressure.
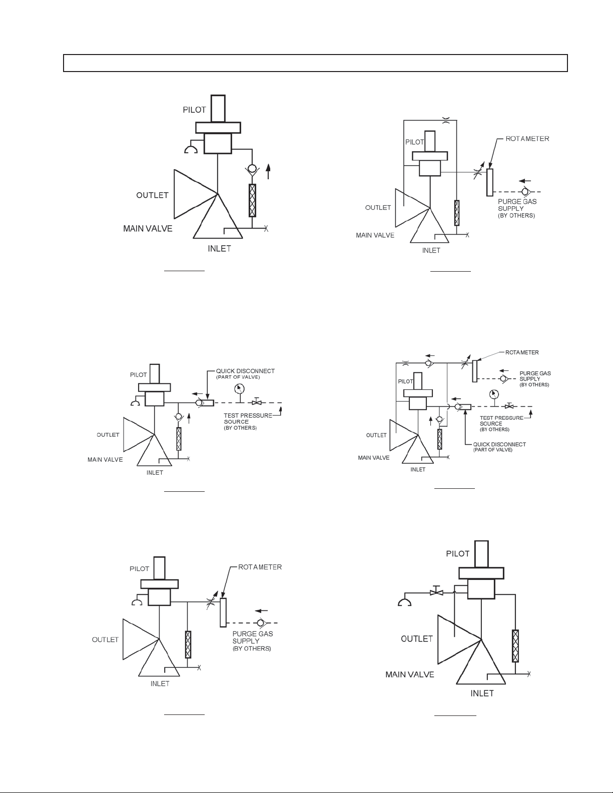
For valves with air or nitrogen assist pilot, the gas
source must be connected to the filter regulator before
the valve will be in the closed position. (The filter
regulator is pre-set at the factory to 5 psig, and the
CA-1 back pressure regulator is pre-set at the factory
to 10 psig.)
SECTION V
V. MAINTENANCE
It is strongly recommended that if the valve needs to
be serviced, that it be sent to the factory or a factory
authorized repair facility. Trained mechanics with
specialized test equipment will ensure that the valve is
accurately set.
The Model 1049 should be periodically checked to
ensure proper operation. The frequency required
depends on the severity of the service conditions. At
least once a year is recommended.
Maintenance procedures hereinafter are based upon
removal of the unit from the vessel where installed.
To disassemble the valve, refer to the appropriate
drawings.
To replace soft goods of the pilot valve:
The pilot assembly may be removed by unscrewing the
nipple (131) from the upper case weldment (201).
washers, and bolts (109, 110, 121 and 120) around the
periphery can now be removed. Remove the bolts and
lockwashers (120 and 110), holding the spring bonnet
(104) and upper diaphragm case (102) together.
Replace the round gasket (122) and reassemble items
102, 104, 110 and 120.
Remove the set pressure spring (115), spring button
(112), and ring gasket (134) and set to the side. Hold
the wrenching washers (128) with a wrench, and
loosen and remove nut (109). Remove lockwashers
(110), lower spring guide washers (111), wrenching
washers (128), support plates (106), diaphragm (107),
bolt gaskets (126), and spacer (127) and set to the
side. Remove lock washers (110) and bolts (120) from
the pilot body (101) and lower diaphragm case (103).
Remove the seal diaphragm (124), the body gasket
(125) and the spindle assembly (108). Take the o-ring
seat (133) and the bolt gasket (126) off the spindle
assembly (108) and replace with new parts.
Reinstall the spindle assembly (108) with o-ring (133)
and bolt gasket (126). Set new seal diaphragm (124)
over the stem of the spindle assembly and the body
gasket (125) on top of the seal diaphragm (124). Then,
reinstall the lower diaphragm case (103) to the pilot
body (101) with lock washers (110) and bolts (120).
Slide the spacer (127) over the stem of the spindle
assembly and place another new bolt gasket (126) on
top of the spacer. Place the first support plate (106)
on the stem, then the new diaphragm (107), then the
other bolt gasket (126), then the final support plate
(106). Place the wrenching washers (128), lower
WARNING
SPRING UNDER COMPRESSION. Prior to
removing diaphragm case bolts, relieve spring
compression by backing out the adjusting screw.
Failure to do so may result in flying parts that
could cause personal injury.
To disassemble the diaphragm case, relax the
compressed spring by first unscrewing the cap
(105), then loosen the jam nut (114) and back off the
adjusting screw (113). The ring of nuts, lockwashers,