
PIR500
04.06.2010 ©Velleman nv
10
•El aparato es capaz de hacer la diferencia entre el día y la noche gracias al
ajuste de sensibilidad luminosa y la sensibilidad PIR. También es posible ajustar
la duración de la señal de salida.
•Es posible instalar el aparato en cajas de empotramiento redondas o cuadradas.
•El indicador LED de detección se ilumina cada vez que el aparato detecta algo.
•No use este aparato para controlar una lámpara fluorescente.
•No instale el aparato en un lugar donde pueda detectar continuamente objetos
móviles, o cerca de aparatos que ajustan la temperatura, como
acondicionadores o aparatos de calefacción.
•La instalación y el mantenimiento deben ser realizados por un técnico
cualificado.
4. Instalación
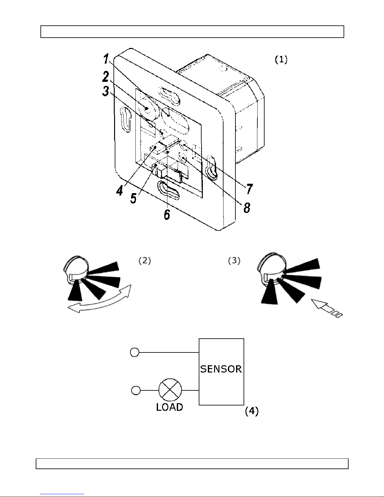
Véase la figura 4 en la página 2 de este manual.
•Desactive y quite el fusible del circuito eléctrico al que quiere conectar este
aparato.
•Quite el panel frontal del resto del aparato.
•Conecte los hilos a los conectores en la parte posterior del aparato, según el
diagrama (fig. 4).
•Introduzca el aparato en la caja de empotramiento y fíjelo con los tornillos de la
caja (póngalos en los agujeros de montaje y fíjelos) o con los tornillos de los
estribos de fijación del aparato mismo.
•Vuelva a colocar el fusible y actívelo.
•Compruebe y ajuste el aparato (véase abajo "Comprobar y ajustar") y vuelva
a colocar el panel frontal.
5. Comprobar y ajustar
•Coloque el selector (fig. 1, #5) en la posición 'on', debe obtener una señal de
salida continua (la lámpara está encendida).
•Coloque el selector en la posición 'off', no debe obtener una señal de salida (la
lámpara está apagada).
•Coloque el selector en la posición 'PIR' y ajuste la sensibilidad PIR y la
sensibilidad luminosa (fig. 1, #3 & 7) hasta que la reacción a los movimientos le
satisfaga.
•Determine la duración de la señal de salida con el ajuste número 6 (fig. 1).
Utilice este aparato sólo con los accesorios originales. Velleman Spain SL
no será responsable de daños ni lesiones causados por un uso (indebido)
de este aparato. Para más información sobre este producto y la versión
más reciente de este manual del usuario, visite nuestra página
www.velleman.eu. Se pueden modificar las especificaciones y el contenido
de este manual sin previo aviso.
© DERECHOS DE AUTOR
Velleman NV dispone de los derechos de autor para este manual del
usuario. Todos los derechos mundiales reservados. Está estrictamente prohibido
reproducir, traducir, copiar, editar y guardar este manual del usuario o partes de
ello sin previo permiso escrito del derecho habiente.