
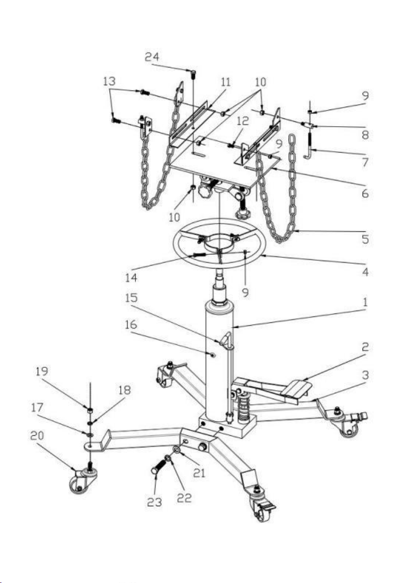
5. Instructions of use
1) RAISING THE JACK
1. Before use, ensure the transmission weight and size does not exceed
the capacity of the jack.
2. Ensure the vehicle from which the gearbox be removed is correctly
positioned.
3. Check handbrake is applied and raised to allow the transmission jack to
be positioned correctly.
4. Ensure there are no other persons around or under the vehicle.
5. Ensure saddle is in its lowest position and use handle to transport and
centrally position jack beneath vehicle transmission.
6. Assemble the handle, ensure it aligns with slots.
7. Close the release valve by turning it clockwise until it is firmly closed.
8. Pump handle to lift until saddle contacts load. Continue to pump the
jack handle to lift the vehicle to the desired height.
9. After lifting, support the load appropriately before removing
transmission.
2) LOWERING THE JACK
1. Support the load with appropriate means before removing transmission.
Check to make sure the transmission is stable on the jack saddle and the
load is fixed in place before attempting to lift,lower,or transport.
2. Grasp the handle firmly with both hands. Securely hold on to the jack
handle so your hands do not slip and ensure the release valve does not
rapidly lower.
3. Carefully open the Release Valve by slowly turning the handle
counterclockwise. (Do not allow bystanders around the jack or under the
load when lowering the jack.)
4. Lower saddle to the lowest height before attempting to transport load.
3) TRANSPORTING THE LOAD
1. Ensure the jack saddle is fully lowered and load is secure before