
Installation and Operating Manual
Tank Sensor FW 120 For Tank Height 40 cm - 120 cm, 12 V / 24 V No. 0256
Tank Sensor FW 240 For Tank Height 80 cm - 240 cm, 12 V / 24 V No. 0258
Level Measuring Sensor for Water and Hydrous Media
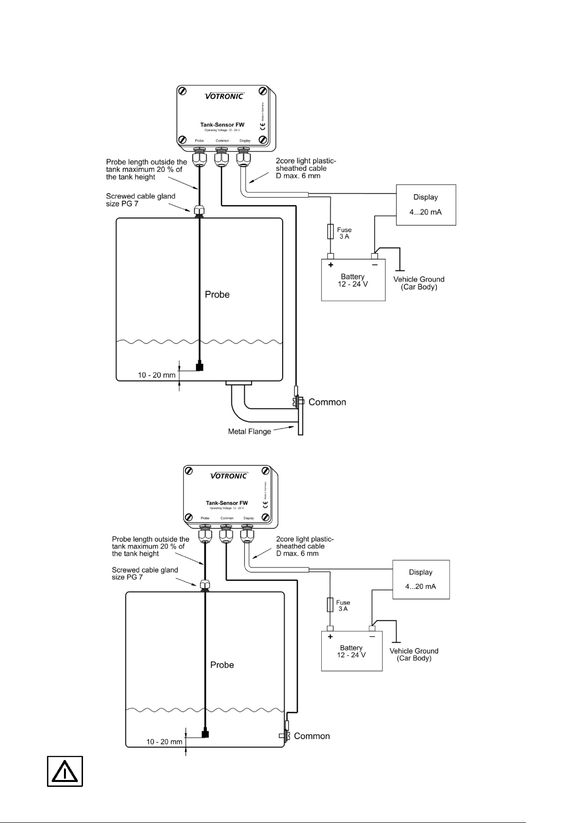
The VOTRONIC Tank Sensor FW is a special development for water tanks in fire fighting vehicles. It allows exact
electric remote measurement of the tank level.
The sensor supplies electrical unit signals (voltage signal 0…10 Volts or current signal 4…20 mA) to the
connection of various display and evaluation units (even possible for several units):
Such as to the VOTRONIC remote indicator LED Tank Display, the VOTRONIC switching unit Multiswitch FW or to
external units, pointer indicators, board computers etc.
•Suitable for plastic and metal tanks
•No mechanically moved parts, fully electronic capacitive measuring method
•The electronic system is sealed waterproof and vibration-proof
•Free installation, also subsequently, at the upper side of the tank or near the tank for space reasons.
•Freely adjustable minimum and maximum levels.
•Independent of pressure, no falsification of measured values in case of pressure filling etc.
•Linear characteristic line of the filling height.
•Protection against wrong polarization, overvoltage, short-circuit and overload.
•Safety due to internal test procedures being executed continuously.
With 0…10 V operation, the Tank Sensor FW is able to manage up to 4 Remote Indicators VOTRONIC LED Tank
Display.
Safety Regulations:
Appropriate Application:
The Tank Sensor FW has been designed according to the valid safety regulations.
Appropriate application is restricted to:
1. Level measuring of water and hydrous media.
2. With extra low safety voltage.
3. In consideration of the indicated cable cross sections.
4. Observing the indicated fuse rates for the supplied operating voltage.
5. In technically faultless condition.
Never use the unit at locations where the risk of gas or dust explosion exists and don’t use it for safety related
applications!
•Cables are always to be laid in such a way that damage is excluded. Observe to fasten them tightly.
•The unit is to be disconnected from any connection prior to execution of electrically welding or work on the
electric system.
•The user/buyer is obliged to observe any construction and safety regulations.
•The unit is not equipped with parts, which can be replaced by the user.
•Non-observance may result in injury or material damage.
•The warranty period is 36 months from the purchase date (against presentation of the sales slip or invoice).
•The warranty will be void in case of any inappropriate utilisation of the unit, if it is used beyond the technical
specification, in case of improper operation or external intervention. We do not assume any liability for any
damage resulting hereof. The liability exclusion is extended to any service being executed by third, which has
not been ordered by us in writing. Service is to be effected exclusively by VOTRONIC Lauterbach/GERMANY.