
INSTALLATION INSTRUCTIONS
AUCKLAND
9 Levene Place, Mount Wellington
PO Box 12 249, Penrose, Auckland 1061
New Zealand
P +64 9 525 6051
VYNCO INDUSTRIES (NZ) LIMITED
CHRISTCHURCH
388 Tuam Street, Phillipstown, Christchurch, 8011
PO Box 9022, Tower Junction, Christchurch 8149
New Zealand
P +64 3 379 9283
VYNCO.CO.NZ
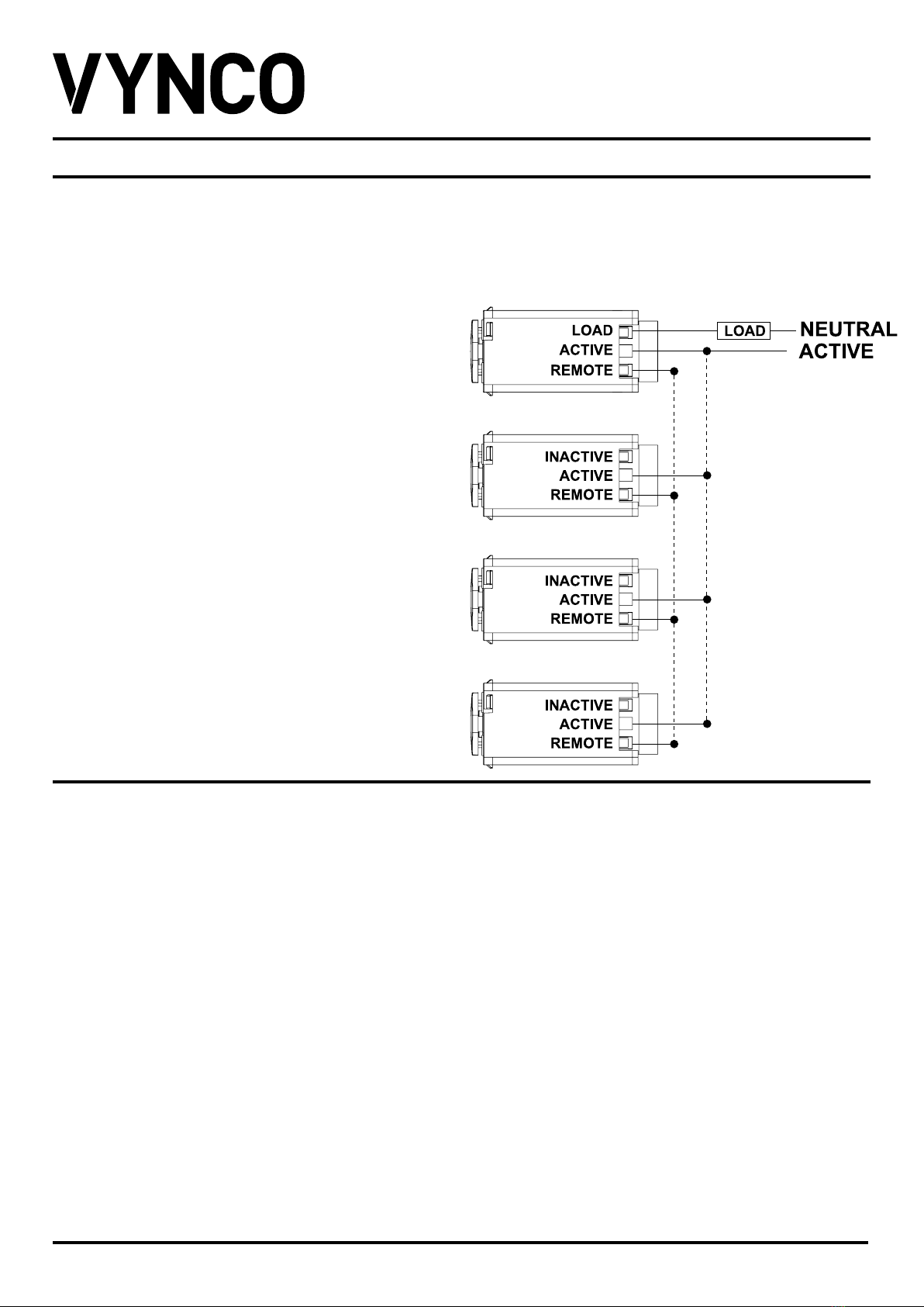
88SPM OR 88SPMB – SLAVE SWITCH PUSH BUTTON 300W
INSV0147
SPECIFICATIONS
Rated Supply Voltage 220 - 240V AC
Rated Frequency 50Hz
Operation Temperature 0 to 45°C
Compatible Dimmers
Only use as a slave in
conjunction with the Vynco
88DP and 88DPB Master
Dimmers.
Maximum Load 300W
Minimum Load 3W
Maximum Slave
Switches per circuit
A maximum of 10 Slave
Switches (88SPM) can be
used on any one circuit.
Safety Compliance AS/NZS 60669.2.1:2020
SAA230645.
SAFETY
All wiring should be carried out by a licensed/ registered
electrician or similarly qualied person wiring and
installed according to the AS/NZS 3000 wiring rules.
The 88SPM product must be tted to a wall plate and
installed in a suitable enclosure (mounting block or ush
box). The input terminals should not be accessible when
the product is being used.
The integrated ON/OFF press switch does not isolate the
power supply. The power must be switched off at the circuit
breaker (MCB) before servicing the Dimmer or Load.
FITMENT
Indoor use only. Suitable for:
• Suitable for Multi-way dimming and switching in
conjunction with the 88DP Push Button Dimmer.
• Incandescent lighting: Max load 300W
• Dimmable LED lighting: Max load 300W
• Fits all Vynco Switch Plates.
IP20
WARRANTY
This product is covered by the standard 2 Year Vynco
Warranty - proof of purchase is required. Please contact
Vynco for details of returns procedure.
NOTE: This product contains NO user serviceable parts.