
0
2
0
3
___
0
4
--
0
5
0
6
0
7
--
0
8
GATE DBL
-
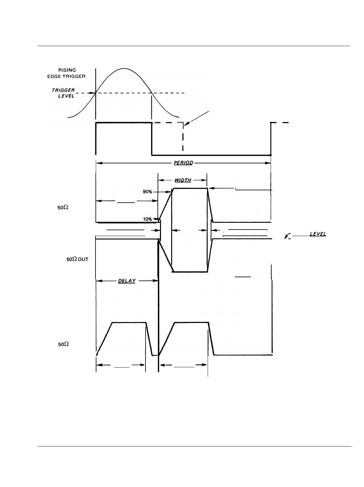
As for GATE except two pulses occur
for each pulse period. Time to second pulse is set by
0
5
.
TRIGGER Switch
-
Selects one of three trigger
methods: manual, an external trigger signal’s rising
edge or an external trigger signal’s falling edge. The
external trigger signal is applied at
Q9
LEVEL Control
-
Inner knob sets acceptance thresh-
old for trigger signal at
@
.
MAN TRIG Switch
-
Supplies a trigger with a dura-
tion that equals the time the switch is held down.
Output depends on the mode selected (see
@
).
TRIG Indicator
-
An LED which lights approxi-
mately 100 ms for each trigger signal accepted.
PERIOD/RATE Switch
-
Selects one of seven ranges
of pulse period. Calibrated in seconds and hertz.
VARIABLE Control
-
Varies the pulse period within
the range selected by the outer knob. Clockwise in-
creases the pulse period and decreases frequency.
DELAY Switch
-
Selects one of seven ranges of
pulse delay, time to second pulse of double pulses
or length of burst, depending on mode setting. OFF
position ensures minimum delay.
VARIABLE Control
-
Varies the delay time within
the range selected by the outer knob. Clockwise in-
creases the delay.
WIDTH
Switch
-
Selects one of seven ranges of pulse
width or an approximate 50% duty cycle.
VARIABLE Control
-
Varies the pulse width within
the range selected by the outer knob except
ins.
LOWER LEVEL Control
-
Outer knob sets the
lower level of the
5Os2
OUT pulse, which may be
varied from-20 to
+20
volts into an open circuit
or -10 to
+10
volts into a 5052 termination. Maxi-
mum pulse height is 20 volts open circuit.
UPPER LEVEL Control
-
Inner knob sets the upper
level of the 5052 OUT pulse. Upper level range is
identical to that stated for the lower level.
5OQ
OUT
Connector
-
The main output of the gen- Operational modes are described in paragraph 3.1 under the
erator. Pulses from this output may be controlled in mode switch. The pulse itself may be shaped in width,
level and transition time as well as frequency and leading and trailing edge transition times, upper level, lower
width. level, frequency of occurrence (period) and delay with
0
9
ECL Connector-An output
with an
emitter-coupled-
logic level pulse whose occurence and duration are
controllable. Levels are
-1.8V
quiescent,
-0.9V
active.
0
30
OUTPUT Switch
-
Selects a normal pulse or its
complement which swaps the active and quiescent
levels. Affects all outputs, except SYNC,
0
11
ECL Connector
-
An output like the ECL out-
put
@
except active and quiescent levels are
reversed.
0
32
TTL Connector
-
An output with a transistor-tran-
sistor-logic level pulse whose occurence and duration
are controllable. Level is <
0.4V
quiescent,
>
2.4V
active into a 5Ost termination.
0
13
TRAILING EDGE Control
-
Varies the duration of
the
5Oa
OUT pulse trailing edge. Duration range is
set by 1
.
0
Clockwise rotation increases edge
time. Full cw exceed upper value of the selected
range. Trailing edge time is not part of WIDTH time.
0
4SYNC
Connector
-
An output with a pulse of OV
to
>
0.5V
into
5Oa
termination and a square wave
when the generator is in a continuous mode (see
0
1
).
In other modes, width is determined by the
time between initial transition of the trigger signal
through the trigger level to the trailing transition.
0
15
LEADING EDGE Control
-
Same as
0
13 but
varies the duration of the leading edge of the
SOS2
OUT pulse. Leading edge time is part of WIDTH time.
0
16
TRIG INPUT Connector
-
Accepts an external
signal to trigger the generator. Triggers on rising or
falling edge of input as determined by
@
. See
paragraph 1.2.3 for input specifications.
0
17
TRANSITION TIME Switch
-
Selects one of seven
ranges for
5Oa
OUT pulse rise and fall durations.
Actual durations within a range are set by
@
and
@
.
0
‘I8
POWER Switch
-
Pulse generator on/off switch.
3.2 NOTES ON OPERATION
3-3