Check list for washer
operation
Check the following if the washer is
not operating properly:
1. Power supply cord is plugged in.
2. Circuit breaker is not tripped or fuse
blown.
3. Timer has been advanced to start
of a cycle.
4. Water faucets are turned on.
5. Inlet and drain hoses are not
kinked.
6. Washer lid is closed.
7. Inlet valve is frozen if not protected
from the weather.
8. Suds level. Excess suds will slow the
spin and cause poor rinsing.
Operate the washer through a
complete cycle with no detergent.
Use less detergent or a controlled
suds type detergent in future loads.
PAGE 6
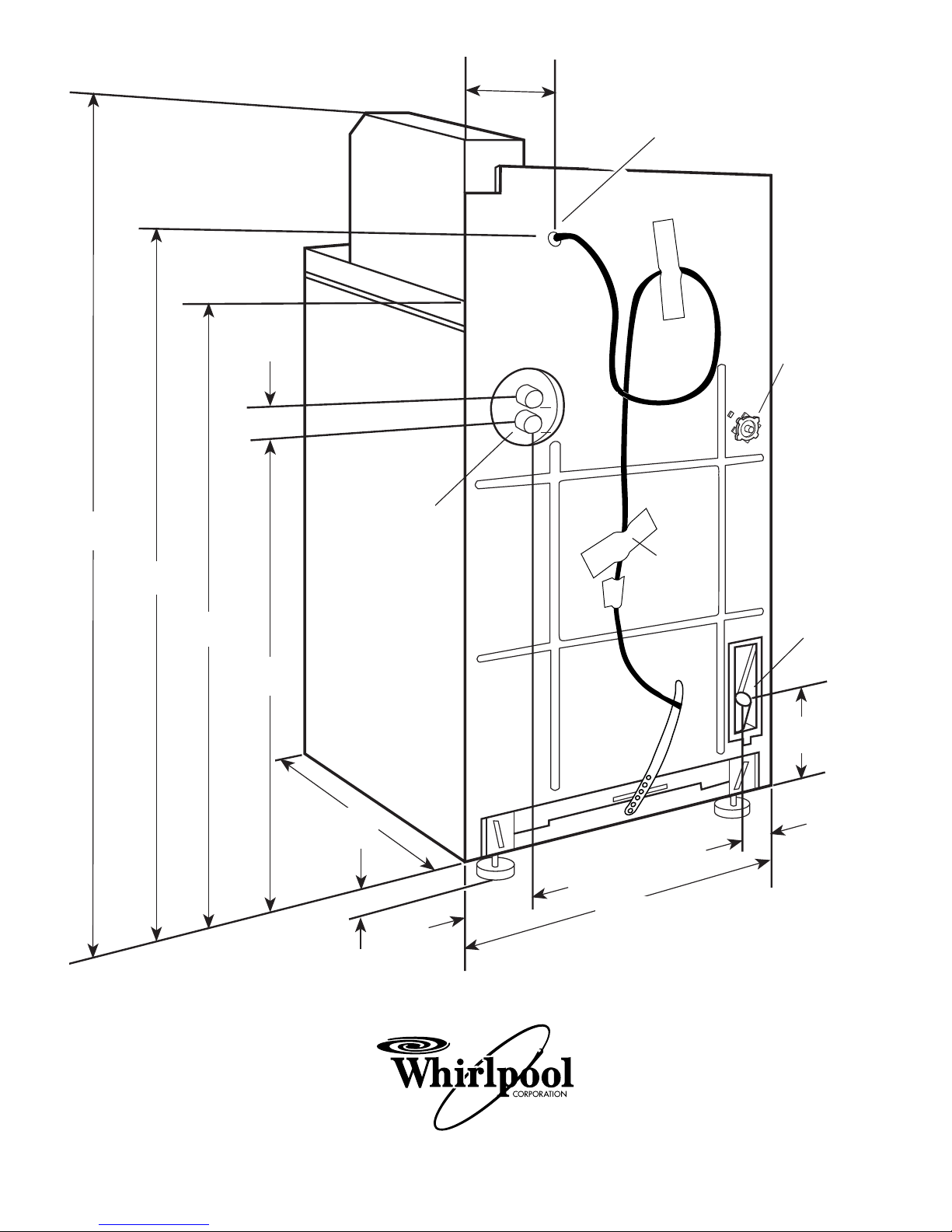
Additional features
Disconnect power before making
electrical connections.
Failure to do so can result in death
or electrical shock.
Electrical Shock Hazard
WARNING
For WARM RINSE where applicable:
• Remove screws from each end of
the console bottom.
• Pull the console bottom forward;
lift and tilt back.
• Connect J1 to J2
To SAVE WATER where applicable:
• Locate water level switch on
back of washer. (See Back Page.)
• Turn shaft 45° counterclockwise.
If you need
assistance…
The Whirlpool Consumer Interaction
Center will answer any questions
about operating or maintaining your
washer not covered in the Installation
Instructions. The Whirlpool Consumer
Interaction Center is open 24 hours
a day, 7 days a week. Just dial
1-800 NO BELTS (1-800-662-3587) —
the call is free.
When you call, you will need the
washer model number and serial
number. Both numbers can be found
on the serial-rating plate located on
your appliance.
IMPORTANT SAFETY INSTRUCTIONS
WARNING: To reduce the risk of fire, electric shock, or injury to persons
when using your washer, follow basic precautions, including the following:
SAVE THESE INSTRUCTIONS
• Read all instructions before using
the washer.
• Do not wash articles that have
been previously cleaned in,
washed in, soaked in, or spotted
with gasoline, dry-cleaning
solvents, other flammable or
explosive substances as they give
off vapors that could ignite or
explode.
• Do not add gasoline, dry-cleaning
solvents, or other flammable or
explosive substances to the wash
water. These substances give off
vapors that could ignite or
explode.
• Under certain conditions,
hydrogen gas may be produced in
a hot water system that has not
been used for 2 weeks or more.
HYDROGEN GAS IS EXPLOSIVE. If
the hot water system has not been
used for such a period, before
using a washing machine, turn on
all hot water faucets and let the
water flow from each for several
minutes. This will release any
accumulated hydrogen gas. As
the gas is flammable, do not
smoke or use an open flame
during this time.
• Do not allow children to play on or
in the washer. Close supervision of
children is neceassary when the
washer is used near children.
• Before the washer is removed from
service or discarded, remove the
lid.
• Do not reach into the washer if the
tub or agitator is moving.
• Do not install or store this washer
where it will be exposed to the
weather.
• Do not tamper with controls.
• Do not repair or replace any part
of the washer or attempt any
servicing unless specifically
recommended in the Owner's
Manual or in published user-repair
instructions that you understand
and have the skills to carry out.
• See Installation Instructions for
grounding requirements.