
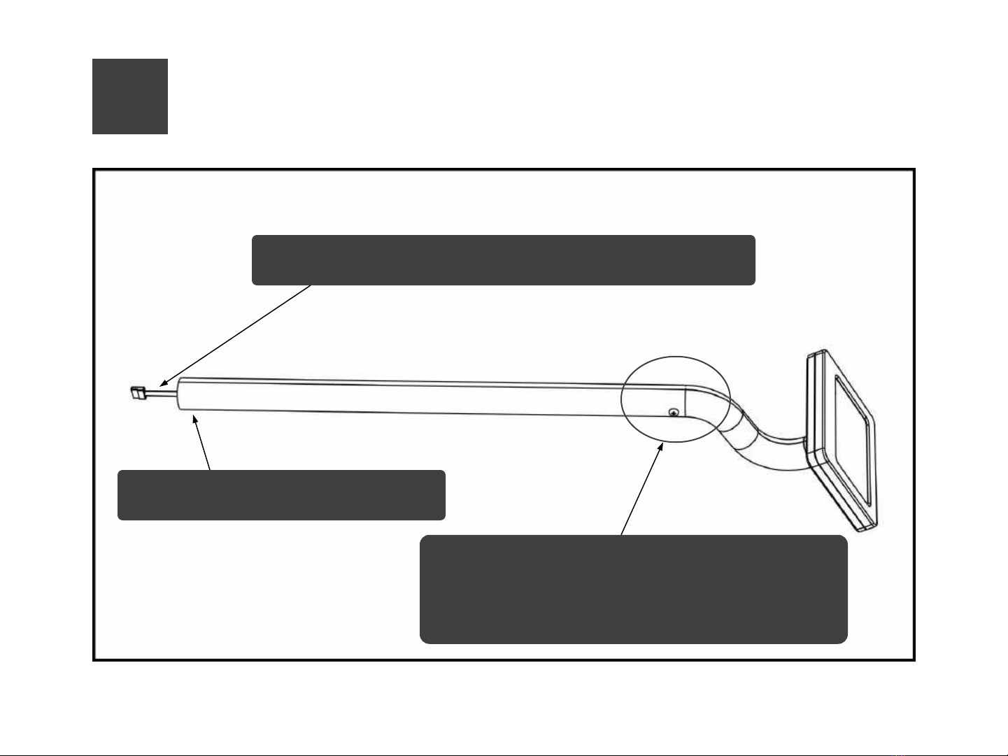
Connect a stand pole with the scale display
The single screw hole faces down
3
Run the wire from scale display through a stand pole
Align the two screw holes on the stand pole
with the two slots on the display, and push
the stand pole into the display firmly.
5