DOYLE 58880 Montageanleitung

Visit our website at: http://www.harborfreight.com
Owner’s Manual & Safety Instructions
Save This Manual Keep this manual for the safety warnings and precautions, assembly,
operating, inspection, maintenance and cleaning procedures. Write the product’s serial number in the
back of the manual near the assembly diagram (or month and year of purchase if product has no number).
Keep this manual and the receipt in a safe and dry place for future reference. 21k
When unpacking, make sure that the product is intact
and undamaged. If any parts are missing or broken,
please call 1-888-866-5797 as soon as possible.
Copyright©2021 by Harbor Freight Tools®. All rights reserved.
No portion of this manual or any artwork contained herein may be reproduced in
any shape or form without the express written consent of Harbor Freight Tools.
Diagrams within this manual may not be drawn proportionally. Due to continuing
improvements, actual product may differ slightly from the product described herein.
Tools required for assembly and service may not be included.
Read this material before using this product.
Failure to do so can result in serious injury.
SAVE THIS MANUAL.

Page 2 For technical questions, please call 1-888-866-5797. Item 58880
Specifications
Required Hitch Receiver 2″Square
Jaw Width 6″
Maximum Jaw Opening 5.75″Maximum
Throat Depth 5″
Pipe Jaw Capacity 0.5 - 3.5 in
Important Safety Information
1. Mount before use according to these
instructions. Improper mounting
can create hazards.
2. Wear ANSI-approved safety goggles
and heavy-duty work gloves
during mounting and use.
3. Park vehicle, turn off ignition and chock
wheels before installing or using Vise.
4. Do not sit or stand on Vise.
Do not use vise as a step.
5. Do not exceed receiver’s rated capacity.
6. Remove Vise from vehicle after use.
7. Keep work area clean and well lit.
8. Keep bystanders out of
the area during use.
9. Verify that installation surface
has no hidden utility lines before
drilling or driving bolts.
10. Do not assemble when tired
or when under the influence
of drugs or medication.
11. Do not use when tired or when
under the influence of alcohol,
drugs or medication.
12. This product is not a toy. Do not allow
children to play with or near this item.
13. Use as intended only.
14. This product is NOT designed
to pull, tow or push.
15. Remove vise before moving vehicle.
16. Inspect before every use; do not use
if parts are loose or damaged.
17. Maintain product labels and
nameplates. These carry
important safety information.
If unreadable or missing, contact
Harbor Freight Tools for a replacement.
18. Damage could occur to your vise and/or
workpiece if you overtighten the Handle.
SAVE THESE INSTRUCTIONS.

Page 3For technical questions, please call 1-888-866-5797.Item 58880
Mounting Instructions
WARNING! TO PREVENT SERIOUS INJURY: Verify that installation
surface has no hidden utility lines before drilling or driving bolts.
Mount to Receiver
1. Insert Tube into receiver.
2. Wiggle Vise inside receiver. If Vise is
loose, remove it and adjust Set Screws
with hex key (sold separately).
3. Reinsert Tube, aligning hole in
Tube with hole in receiver.
4. Insert Hitch Pin through hole.
5. Insert R-Clip through hole in Hitch Pin.
R-Clip
Hitch Pin
Tube
Set Screws
Receiver
Hole
Mount to Surface
1. Place Vise on flat, solid surface
capable of supporting weight
of Vise and work piece.
2. Using Vise as template, mark
two mounting holes.
3. Drill appropriated size holes
for bolts (sold separately).
4. Secure Vise with appropriate bolts,
washers and nuts (sold separately).

Page 4 For technical questions, please call 1-888-866-5797. Item 58880
Operating Instructions
1. Turn Handle counterclockwise
to open Jaws.
2. Place work piece inside Jaws.
CAUTION! Keep fingers away from
Jaws while tightening them.
3. Turn Handle clockwise to tighten
Jaws against work piece until it is
held securely. Do not overtighten.
4. After use, remove vise from vehicle.
Store indoors out of children’s reach.
Maintenance
1. Keep moving parts lubricated. Wipe off
excess lubricant on Handle and Jaws.
2. Keep Jaws clean. Remove
Jaw Inserts for cleaning by
removing Jaw Insert Screws.
3. Periodically, check and tighten
mounting hardware.

Page 5For technical questions, please call 1-888-866-5797.Item 58880
PLEASE READ THE FOLLOWING CAREFULLY
THE MANUFACTURER AND/OR DISTRIBUTOR HAS PROVIDED THE PARTS LIST AND ASSEMBLY
DIAGRAM IN THIS DOCUMENT AS A REFERENCE TOOL ONLY. NEITHER THE MANUFACTURER
OR DISTRIBUTOR MAKES ANY REPRESENTATION OR WARRANTY OF ANY KIND TO THE
BUYER THAT HE OR SHE IS QUALIFIED TO MAKE ANY REPAIRS TO THE PRODUCT, OR
THAT HE OR SHE IS QUALIFIED TO REPLACE ANY PARTS OF THE PRODUCT. IN FACT, THE
MANUFACTURER AND/OR DISTRIBUTOR EXPRESSLY STATES THAT ALL REPAIRS AND PARTS
REPLACEMENTS SHOULD BE UNDERTAKEN BY CERTIFIED AND LICENSED TECHNICIANS,
AND NOT BY THE BUYER. THE BUYER ASSUMES ALL RISK AND LIABILITY ARISING OUT OF
HIS OR HER REPAIRS TO THE ORIGINAL PRODUCT OR REPLACEMENT PARTS THERETO,
OR ARISING OUT OF HIS OR HER INSTALLATION OF REPLACEMENT PARTS THERETO.

Page 6 For technical questions, please call 1-888-866-5797. Item 58880
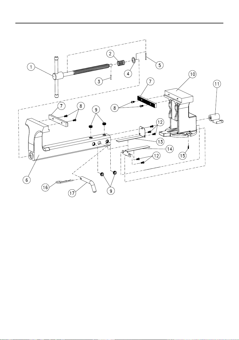
Parts List and Diagram
Parts List
Part Description Qty
1Spindle & Handle 1
2Spindle Spring 1
3Cylinder Pin 1
4Washer 1
5Cylinder Pin 1
6Tube 1
7Jaw Insert 2
8Jaw Insert Screw 4
9Set Screw 4
Part Description Qty
10 Stationary Body 1
11 Spindle Nut 1
12 Sliding Plate Screw 5
13 Static Sliding Plate 1
14 Active Sliding Plate 1
15 Knurled Cylindrical Pin 1
16 R Clip 1
17 Hitch Pin 1
Record Serial Number Here:
Note: If product has no serial number, record month and year of purchase instead.
Note: Some parts are listed and shown for illustration purposes only, and are not available
individually as replacement parts. Specify number when ordering.193175448149.

Page 7For technical questions, please call 1-888-866-5797.Item 58880
Assembly Diagram

26677 Agoura Road • Calabasas, CA 91302 • 1-888-866-5797
Limited 90 Day Warranty
Harbor Freight Tools Co. makes every effort to assure that its products meet high quality and durability standards,
and warrants to the original purchaser that this product is free from defects in materials and workmanship for the
period of 90 days from the date of purchase. This warranty does not apply to damage due directly or indirectly,
to misuse, abuse, negligence or accidents, repairs or alterations outside our facilities, criminal activity, improper
installation, normal wear and tear, or to lack of maintenance. We shall in no event be liable for death, injuries
to persons or property, or for incidental, contingent, special or consequential damages arising from the use of
our product. Some states do not allow the exclusion or limitation of incidental or consequential damages, so the
above limitation of exclusion may not apply to you. THIS WARRANTY IS EXPRESSLY IN LIEU OF ALL OTHER
WARRANTIES, EXPRESS OR IMPLIED, INCLUDING THE WARRANTIES OF MERCHANTABILITY AND FITNESS.
To take advantage of this warranty, the product or part must be returned to us with transportation charges
prepaid. Proof of purchase date and an explanation of the complaint must accompany the merchandise.
If our inspection verifies the defect, we will either repair or replace the product at our election or we
may elect to refund the purchase price if we cannot readily and quickly provide you with a replacement.
We will return repaired products at our expense, but if we determine there is no defect, or that the defect resulted
from causes not within the scope of our warranty, then you must bear the cost of returning the product.
This warranty gives you specific legal rights and you may also have other rights which vary from state to state.
Inhaltsverzeichnis
Andere DOYLE Werkzeuge Handbücher



















