
21
4033
4
131418
1
2
8
2016 10 11 22
756
31
30
3
17
9
2928
27 24
19
23
15
26
25
39 32
12
34
35
37
36
38
REVISION HISTORY
REV.
POS.
DESCRIPTION
DATE
DRAWN BY
ITEM NO.
DOCUMENT NO.
REV.
TITLE
QTY.
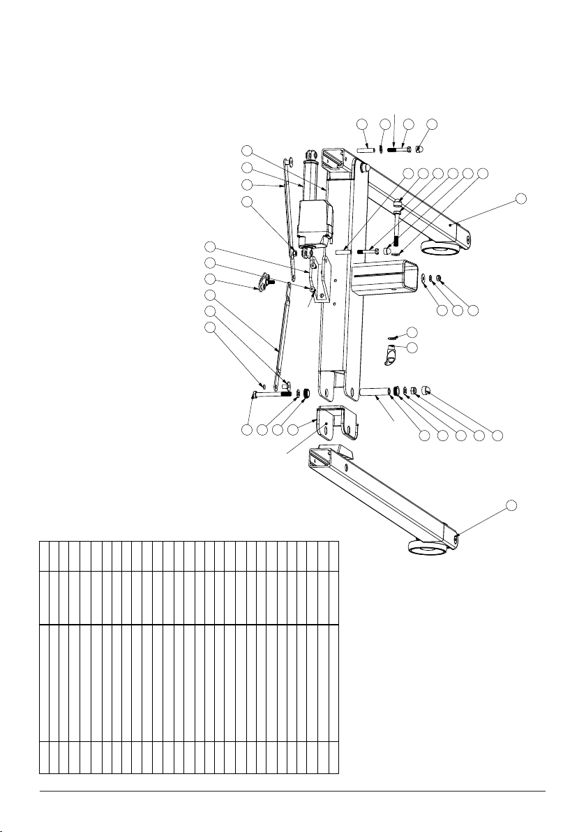
1 90004710
01A+
EvaDrive leg right welded
1
290004711
01A+
EvaDrive leg left welded
1
390000345 04
Washer DIN125 8.4x16x1.6 fzb
4
490004723
01A
Eva drive actuator stearing pin
1
590004718 01
Eva drive wheel bracket left
1
690004466
00B+
Hub motor and wheel left
1
790004737
00A+
Bushing teflon COB010_DB16
4
890004734
00+
Lock nut DIN985 M18 fzb
2
990004720 01
Eva drive wheel distance
2
10 90004719 01
Eva drive wheel bracket right
1
11 90005035
00A+
Parallell key DIN 6885 A RK h9 4x20
2
12 90000026 03
Lock nut DIN985 M8 fzb
10
13 90004735
00A+
Bushing with flange PTFE COB010F 15090 Internordic
4
14 90004722 01
Eva drive sleeve
4
15 90004721 01
Eva drive tension bracket
2
16 90005031
01A+
Eva drive support welded
1
17 90001674 01
Screw MC6S DIN912 8.8 M8x16 fzb
4
18 90004471 01
Screw_MC6S_DIN912_8.8_M8x20_fzb
4
19 90005026 01
Screw K6S DIN7380 10.9 M8x20 fzb
6
20 90005036
00+
Flanged lid Enclosure - Hammond 1591GFLGY
1
21 90005002
00+
Eva Drive cover
1
22 90004467
00+
Hub motor and wheel right
1
23 90003940
00+
Emergeny stop button CE3T-10R-11 (ABB)
1
24 90005023 00
Screw K6S DIN7380 10.9 M8x40 fzb
2
25 90001200 01
Washer DIN125 4,3x9x0,8 fzb
2
26 90005025 01
Screw MC6S DIN912 8.8 M4x30 fzb
2
27 90004920 01
Spacer 6,2x10x5 PA-66 Skiffy 005 4900 000 02
4
28 90005028 01
Washer DIN 7349 4,3x12x1,6 fzb
4
29 90005027 01
Lock nut DIN985 M4 fzb
4
30 90005029 01
Screw MF6S DIN7991 8.8 M4x20 fzb
4
31 90003696 01
Shoulder bolt ISO7379 12.9 10xM8x40
2
32 90001716 01
Plug Ackurat IKPT 13x9 G
2
33 90003706 01
Flange bushing COB010f - 10120 (Internordic)
1
34 90005060 00
Nut ML6M DIN439 ISO4035 M10 fzb
1
35 90000732 01
Bushing teflon C0B010-1012
1
36 90005086
00+
Eva Drive Cable entry top
1
37 90005085
00+
Eva Drive Cable entry front
1
38 90005087
00+
Screw for thermoplastic TPPT 2,5x12 fzb (BUFAB)
2
39 90003273
00+
Control box VR2
1
40 90003945
00+ Actuator LA30 2-way 335mm
1
B
C
D
1
2
A
3
2
1
4
B
A
5
6
C
3
1:5
CREATED
STATUS
TITLE
MATERIAL:
SIZE
In work
Eva Drive 450 base assy
90005037
00D+
2015-11-18
A4
This drawing and any information or descriptive matter set out hereon are the confidential and copyright property of Handicare
and must not be disclosed, loaned, copied or used for manufacturing, tendering or any other purpose without their written permission.
MATERIAL SPECIFICATION:
PROJECTION
SCALE
21
4033 4
131418 1
2
82016 10 11 22756
31
30
3
17
92928
27 24
19
23
15
26
25
39 32
12
34
35
37
36
38
REVISION HISTORY
REV.
POS.
DESCRIPTION
DATE
DRAWN BY
ITEM NO.
DOCUMENT NO.
REV.
TITLE
QTY.
1
90004710
01A+
EvaDrive leg right welded
1
2
90004711
01A+
EvaDrive leg left welded
1
3
90000345 04
Washer DIN125 8.4x16x1.6 fzb
4
4
90004723
01A
Eva drive actuator stearing pin
1
5
90004718 01
Eva drive wheel bracket left
1
6
90004466
00B+
Hub motor and wheel left
1
7
90004737
00A+
Bushing teflon COB010_DB16
4
8
90004734
00+
Lock nut DIN985 M18 fzb
2
9
90004720 01
Eva drive wheel distance
2
10
90004719 01
Eva drive wheel bracket right
1
11
90005035
00A+
Parallell key DIN 6885 A RK h9 4x20
2
12
90000026 03
Lock nut DIN985 M8 fzb
10
13
90004735
00A+
Bushing with flange PTFE COB010F 15090 Internordic
4
14
90004722 01
Eva drive sleeve
4
15
90004721 01
Eva drive tension bracket
2
16
90005031
01A+
Eva drive support welded
1
17
90001674 01
Screw MC6S DIN912 8.8 M8x16 fzb
4
18
90004471 01
Screw_MC6S_DIN912_8.8_M8x20_fzb
4
19
90005026 01
Screw K6S DIN7380 10.9 M8x20 fzb
6
20
90005036
00+
Flanged lid Enclosure - Hammond 1591GFLGY
1
21
90005002
00+
Eva Drive cover
1
22
90004467
00+
Hub motor and wheel right
1
23
90003940
00+
Emergeny stop button CE3T-10R-11 (ABB)
1
24
90005023 00
Screw K6S DIN7380 10.9 M8x40 fzb
2
25
90001200 01
Washer DIN125 4,3x9x0,8 fzb
2
26
90005025 01
Screw MC6S DIN912 8.8 M4x30 fzb
2
27
90004920 01
Spacer 6,2x10x5 PA-66 Skiffy 005 4900 000 02
4
28
90005028 01
Washer DIN 7349 4,3x12x1,6 fzb
4
29
90005027 01
Lock nut DIN985 M4 fzb
4
30
90005029 01
Screw MF6S DIN7991 8.8 M4x20 fzb
4
31
90003696 01
Shoulder bolt ISO7379 12.9 10xM8x40
2
32
90001716 01
Plug Ackurat IKPT 13x9 G
2
33
90003706 01
Flange bushing COB010f - 10120 (Internordic)
1
34
90005060 00
Nut ML6M DIN439 ISO4035 M10 fzb
1
35
90000732 01
Bushing teflon C0B010-1012
1
36
90005086
00+
Eva Drive Cable entry top
1
37
90005085
00+
Eva Drive Cable entry front
1
38
90005087
00+
Screw for thermoplastic TPPT 2,5x12 fzb (BUFAB)
2
39
90003273
00+
Control box VR2
1
40
90003945
00+
Actuator LA30 2-way 335mm
1
B
C
D
1
2
A
3
2
1
4
B
A
5
6
C
3
1:5
DWG. NO.
REV.
NAME
DATE
CREATED
SHEET 1 OF 1
WEIGHT:
STATUS
TITLE
MATERIAL:
SIZE
In work
Eva Drive 450 base assy
90005037
00D+
2015-11-18
A4
This drawing and any information or descriptive matter set out hereon are the confidential and copyright property of Handicare
and must not be disclosed, loaned, copied or used for manufacturing, tendering or any other purpose without their written permission.
MATERIAL SPECIFICATION:
PROJECTION
SCALE
hc-matfre
21
4033 4
131418 1
2
82016 10 11 22756
31
30
3
17
92928
27 24
19
23
15
26
25
39 32
12
34
35
37
36
38
REVISION HISTORY
REV.
POS.
DESCRIPTION
DATE
DRAWN BY
ITEM NO.
DOCUMENT NO.
REV.
TITLE
QTY.
EvaDrive leg right welded
1
EvaDrive leg left welded
1
Washer DIN125 8.4x16x1.6 fzb
4
Eva drive actuator stearing pin
1
Eva drive wheel bracket left
1
Hub motor and wheel left
1
Bushing teflon COB010_DB16
4
Lock nut DIN985 M18 fzb
2
Eva drive wheel distance
2
Eva drive wheel bracket right
1
Parallell key DIN 6885 A RK h9 4x20
2
Lock nut DIN985 M8 fzb
10
Bushing with flange PTFE COB010F 15090 Internordic
4
Eva drive sleeve
4
Eva drive tension bracket
2
Eva drive support welded
1
Screw MC6S DIN912 8.8 M8x16 fzb
4
Screw_MC6S_DIN912_8.8_M8x20_fzb
4
Screw K6S DIN7380 10.9 M8x20 fzb
6
Flanged lid Enclosure - Hammond 1591GFLGY
1
Eva Drive cover
1
Hub motor and wheel right
1
Emergeny stop button CE3T-10R-11 (ABB)
1
Screw K6S DIN7380 10.9 M8x40 fzb
2
Washer DIN125 4,3x9x0,8 fzb
2
Screw MC6S DIN912 8.8 M4x30 fzb
2
Spacer 6,2x10x5 PA-66 Skiffy 005 4900 000 02
4
Washer DIN 7349 4,3x12x1,6 fzb
4
Lock nut DIN985 M4 fzb
4
Screw MF6S DIN7991 8.8 M4x20 fzb
4
Shoulder bolt ISO7379 12.9 10xM8x40
2
Plug Ackurat IKPT 13x9 G
2
Flange bushing COB010f - 10120 (Internordic)
1
Nut ML6M DIN439 ISO4035 M10 fzb
1
Bushing teflon C0B010-1012
1
Eva Drive Cable entry top
1
Eva Drive Cable entry front
1
Screw for thermoplastic TPPT 2,5x12 fzb (BUFAB)
2
Control box VR2
1
Actuator LA30 2-way 335mm
1
B
C
D
1
2
A
3
2
1
4
B
A
5
6
C
3
1:5
DWG. NO.
REV.
NAME
DATE
CREATED
SHEET 1 OF 1
WEIGHT:
STATUS
TITLE
MATERIAL:
SIZE
In work
Eva Drive 450 base assy
90005037
00D+
2015-11-18
A4
This drawing and any information or descriptive matter set out hereon are the confidential and copyright property of Handicare
and must not be disclosed, loaned, copied or used for manufacturing, tendering or any other purpose without their written permission.
MATERIAL SPECIFICATION:
PROJECTION
SCALE
hc-matfre
Exploded view and components - EvaDrive, base
10 SERVICE MANUAL SystemRoMedicTM