
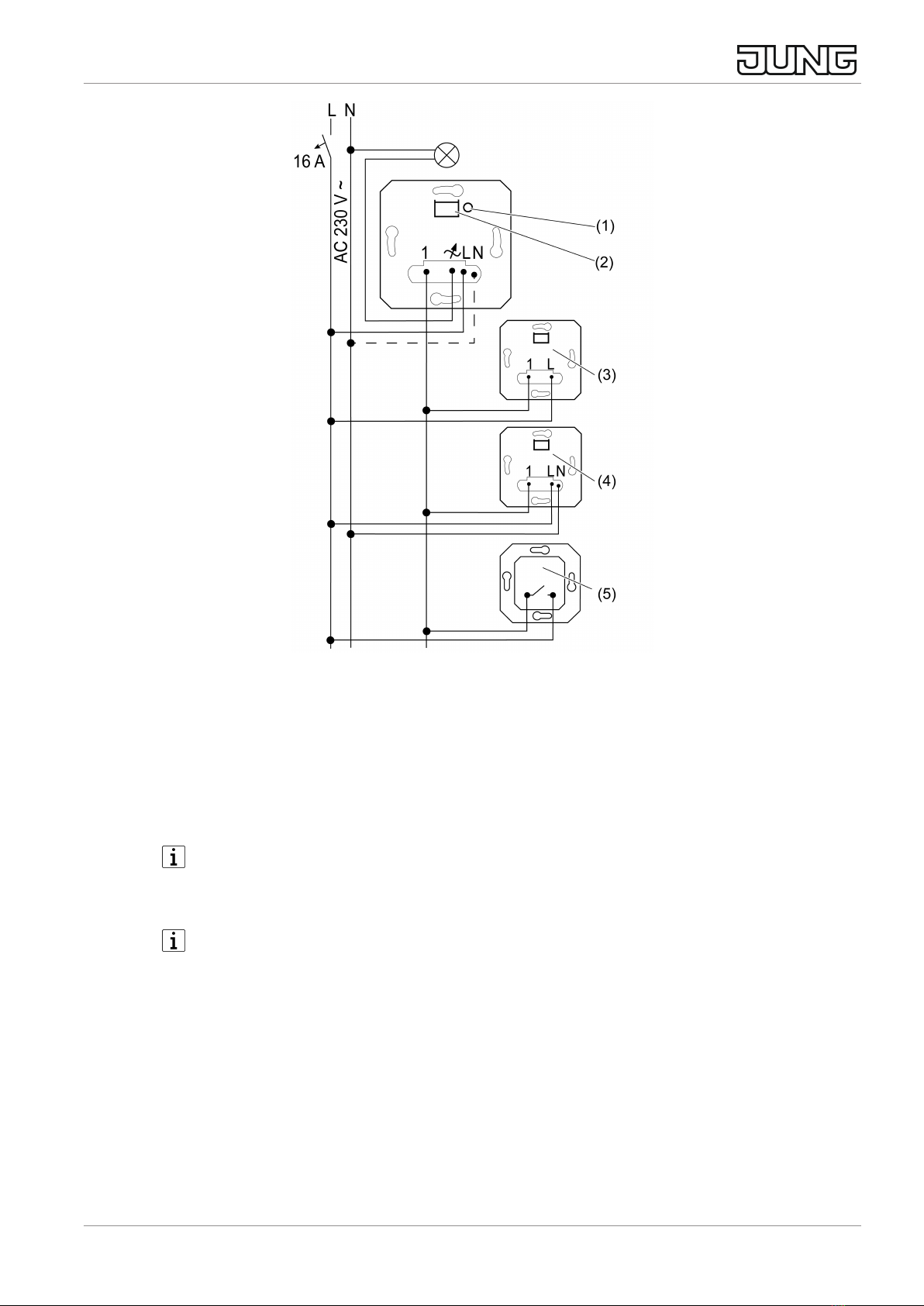
5.2 Commissioning
Operation with neutral conductor
The device is powered via the phase conductor and neutral conductor. There is no
leading edge phase control or trailing edge phase control. Setting an operating mode
is not necessary. Therefore, button Test (1) and LED (2) have no function for com-
missioning.
Operation without neutral conductor
For operation without neutral conductor, the device is powered via the phase con-
ductor and the connected load. Therefore, the device operates in leading edge phase
control or trailing edge phase control. Generally, the device automatically sets the
suitable operating mode. It may, however, be necessary to set the operating mode
manually.
Universal, R,L,C,LED
– Preset at the factory.
Automatic calibration to the load, dimming principle, trailing edge phase con-
trol, leading edge phase control or LED leading edge phase control.
– Incandescent lamps, HV halogen lamps, dimmable HV-LED or compact fluor-
escent lamps, dimmable electronic or inductive transformers for halogen or
LED lamps.
LED trailing edge phase control, {
The connection of inductive transformers is not permitted.
– Incandescent lamps, HV halogen lamps, electronic transformers for halogen or
LED lamps that can be dimmed according to the trailing edge phase control
principle, HV-LED or compact fluorescent lamps that can be dimmed accord-
ing to the trailing edge phase control principle.
LED leading edge phase control, |
The connection of inductive transformers is not permitted.
– Incandescent lamps, HV halogen lamps, electronic transformers for halogen or
LED lamps that can be dimmed according to the leading edge phase control
principle, HV-LED or compact fluorescent lamps that can be dimmed accord-
ing to the leading edge phase control principle.
Presetting the operating mode
Precondition: Load is switched off.
■ Press button Test (1) for longer than 4 seconds, until LED (2) lights up.
Electronic switch insert 1-channel
7 / 11
82400533 25.08.2022
J0082400533