MultiMotion M5 Bedienungsanleitung

(NL)
Gebruiksaanwijzing MultiMotion M5
Versie 1.2 juli 2018
1
www.multi-motion.nl

(NL)
VOORDAT U GEBRUIK GAAT MAKEN VAN DEZE ROLSTOEL DIENT U, EN INDIEN VAN
TOEPASSING UW BEGELEIDER, EERST DEZE HANDLEIDING AANDACHTIG DOOR TE LEZEN.
Algemene introductie
Het is belangrijk dat u deze handleiding voor het gebruik van de rolstoel aandachtig
doorleest. De handleiding bevat belangrijke informatie over het veilig gebruiken en
onderhoud van uw rolstoel.
De veiligheidsvoorschriften in deze handleiding zijn algemene aanwijzingen die gezien
moeten worden als globale richtlijnen. Het is mogelijk dat u uw eigen manieren ontwikkelt
voor veel voorkomende handelingen. Wij willen u echter adviseren een beroep te doen op
een deskundige voor assistentie bij het ontwikkelen van veilige en effectieve technieken met
betrekking tot uw dagelijkse activiteiten en uw fysieke mogelijkheden.
Uw nieuwe rolstoel heeft frequent en schematisch onderhoud nodig. Veel van dit onderhoud
kunt u zelf doen. Wij willen u echter aanraden om uw rolstoel één keer per jaar te laten
nakijken door een deskundige.
2
www.multi-motion.nl

(NL)
VEILIGHEIDSVOORSCHRIFTEN
MultiMotion stelt zich niet verantwoordelijk voor verwondingen aan de gebruiker of schade
aan eigendommen, indien bij het gebruik van de rolstoel de aanbevelingen en
waarschuwingen niet zijn opgevolgd. De rolstoel is, indien de omgangsregels zoals deze
beschreven staan in deze handleiding worden opgevolgd, een uiterst veilig en stabiel
product. Het is echter wel mogelijk dat, wanneer de gebruiksadviezen niet correct wordt
nageleefd , er gevaarlijke situaties kunnen ontstaan.
Algemene Veiligheidsvoorschriften
Bescherm uw aankoop door uw rolstoel regelmatig te laten controleren. Wanneer er een
deel van uw rolstoel niet goed functioneert, is het mogelijk dat er een gevaarlijke situatie
ontstaat. Periodieke inspectie, een correcte instelling van uw rolstoel en tijdige vervanging
van kapotte en versleten onderdelen zal resulteren in een jarenlang probleemloos gebruik
van uw rolstoel. Een gekwalificeerde MultiMotion dealer, die alleen MultiMotion
vervangingsonderdelen zal gebruiken, zal er voor zorgen dat de lange levensduur
gewaarborgd blijft door goed en preventief onderhoud. Kijk voor alle dealers op
www.multi-motion.nl/dealer-pagina
Waarschuwing Algemeen
U dient uw rolstoel in een goede staat te houden om de veiligheid in gebruik en omgang te
kunnen waarborgen.
Waarschuwingen voor veilig gebruik:
- Gebruik uw rolstoel niet op straten of autowegen, alleen op de trottoirs.
- Het vervoer van uw rolstoel is in alle voertuigen, inclusief voertuigen die
speciaal aangepast en/of ontwikkeld zijn voor het vervoer van uw rolstoel, op
eigen risico. Wij aanvaarden geen enkele aansprakelijkheid hiervoor. Wij
adviseren u, indien u uw rolstoel toch wilt vervoeren, contact op te nemen
met de vervoerder, uw leverancier en/of een erkende fabrikant van taxifixatie
systemen om een passend systeem te kiezen voor uw rolstoel en situatie;
- Uw rolstoel is niet te gebruiken als stoel in een motorvoertuig. Gebruik altijd
de toegestane voertuigstoel en gebruik de vereiste motorvoertuig
beperkingen als u zich in een motorvoertuig bevindt. Vervoer van uw rolstoel
in een motorvoertuig is op eigen risico;
- Probeer geen hellingen zonder geïnstalleerde anti-kiep wielen, en probeer
nooit trottoir op- of afritten zonder assistentie;
- Leun NIET over de achterkant van de rolstoel. Dit kan resulteren in het
kantelen van de rolstoel;
3
www.multi-motion.nl

(NL)
Onze adviezen
Gaan zitten in de rolstoel
Voordat u in de rolstoel gaat zitten moet hij aan beide kanten op de rem gezet worden. De
remmen zitten tegen de achterwielen aan. Klap de voetplaten op of zwaai ze naar buiten. U
gaat tegen de rolstoel aanstaan met uw knieholten. Zoek steun bij de armleggers en ga zo
ver mogelijk naar achteren zitten. Plaats uw voeten op de voetsteunen.
Rijden met de rolstoel
Een rolstoel met grote achterwielen kan de gebruiker zelf voortbewegen door de hoepels
naar voren te trekken. Om te sturen trekt u de ene hoepel meer naar voren dan de ander.
Houdt er rekening mee dat alle stoepen aflopen naar de weg en dat een rolstoel die niet op
de rem staat kan gaan rijden.
Stoepen
Een stoep oprijden gaat het makkelijkst als degene die duwt de rolstoel tot aan de stoeprand
rijdt, vervolgens de voet op de trapdop van de rolstoel zet waardoor de voorwielen omhoog
komen en zet daarna de voorwielen op de stoep en rijdt verder zodat de achterwielen ook
op de stoep staan. Een stoep afrijden kan het beste door de rolstoel om te draaien en
achteruit de stoep af te gaan. Neem een stoep altijd haaks.
Opstaan uit de rolstoel
Zet de rolstoel aan beide kanten op de rem. Klap de voetplaten op of zwaai ze naar buiten.
Gebruiker zet de voeten op de grond en drukt zich op beide armleuningen omhoog.
Inklappen van de rolstoel
Als er een kussen in zit haal dit er eerst uit. Trek het midden van de zitmat met beide handen
omhoog tot het niet verder kan. Vergeet niet om de voetplaten eerst op te klappen of de
voetsteunen helemaal te verwijderen.
Uitklappen van de rolstoel
Pak aan beiden kanten van de zitting de buizen vast en duw ze van elkaar tot het niet verder
kan.
Naar achter klappen van de rugsteun
De rugsteun van deze rolstoel is naar achter te klappen door de 2 ontgrendel clippen achter
op de rugleuning in te drukken en de rugzitting voorzichtig naar achter te klappen. Zo wordt
de rolstoel extra compact opgevouwen.
Het terugklappen van de rugsteun
Trek de rugsteun voorzichtig omhoog totdat deze door de borgpennen wordt vergrendeld.
Een duidelijke klik geeft aan dat de rugsteun vergrendeld is.
4
www.multi-motion.nl

(NL)
Afnemen van de wielen
Deze rolstoel is voorzien van zogeheten Quick-release wielen. Dit betekent dat de
wielen eenvoudig te verwijderen zijn door middel van een drukknop in de as van het
wiel. Druk de knop in de as is en verwijder voorzichtig het wiel. Houdt de rolstoel tegen
zodat deze niet omvalt.
Terugplaatsen van de wielen
Wanneer u de wielen weer terug plaatst is het belangrijk dat u de drukknop op de
assen ingedrukt houdt wanneer het wiel over de as geschoven wordt. Controleer of
het wiel weer goed vast zit, wanneer dit het geval is kan deze nooit los komen tenzij
de knop op de wielas weer wordt ingedrukt.
De rolstoel meenemen in de auto
De rolstoel kan in de meeste auto’s opgevouwen meegenomen worden. Door de
voetsteunen eraf te halen wordt de rolstoel kleiner.
Gebruik van de begeleiders remmen
Deze rolstoel is voorzien van remhendels op de duwhandvatten. Hiermee kan de rolstoel ook
op de parkeerstand gezet worden, dit doet u door de remmen in te knijpen en het clipje op
het begin van de remhendel omhoog te duwen.
Schoonmaken van de rolstoel
U kunt de rolstoel het beste schoonmaken met een licht huishoudelijk sopje.
Gebruikersgewicht
Het maximum gebruikersgewicht bedraagt 130 kg.
5
www.multi-motion.nl

(NL)
Service en Garantie
MultiMotion stelt zich niet verantwoordelijk voor verwondingen aan de gebruiker of
schade aan eigendommen, indien bij het gebruik van de rolstoel de aanbevelingen en
waarschuwingen niet zijn opgevolgd. De rolstoel is, indien de omgangsregels zoals deze
beschreven staan in deze handleiding worden opgevolgd, een uiterst veilig en stabiel
product. Het is echter wel mogelijk dat, wanneer de gebruiksadviezen niet correct wordt
nageleefd , er gevaarlijke situaties kunnen ontstaan.
Op deze rolstoel zit een garantietermijn van 24 maanden. Neem voor garantie en service
contact op met de gemachtigde dealer waar u uw product hebt gekocht. Hebt u na deze
termijn van 24 maanden toch (technische) problemen met het product dan kunt u ook de
gemachtigde dealer benaderen voor een eventuele oplossing.
Als het voorkomt dat u niet naar tevredenheid wordt geholpen wat betreft de garantie en
service, stuurt u dan alstublieft een email naar MultiMotion afdeling klantenservice op
onderstaand adres:
Distrubiteur: Fabrikant:
MultiMotion Zhenjiang Max Medical Appliance Co., Ltd
Weezenhof 61-58 NO703, Gaochuang yuan, Dingmao jing 12 road
6536 AM Nijmegen Zhenjiang, Jiangsu China
Nederland
Tel. 024-6794583
EU representative:
Lotus NL B.V.
Koningin Julianaplein 10
2595AA The Hague
Netherlands
MultiMotion beschikt over een ‘’Declaration of Conformity’’
6
www.multi-motion.nl

(NL)
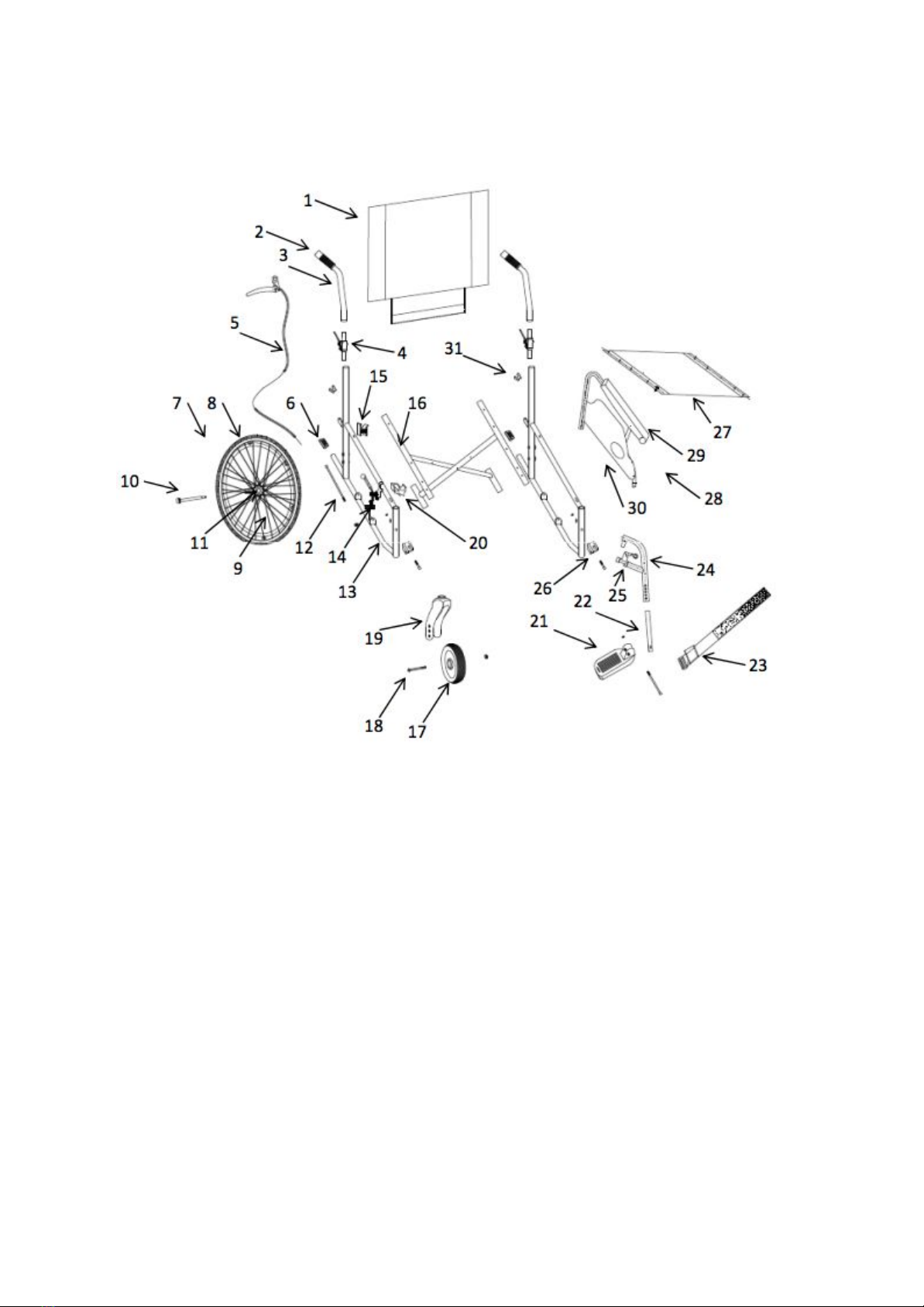
Onderdelenlijst
1. Rugstoffering (Nylon) 19. Voorvork (Plastic)
2. Handgreep (Plastic) 20. Zitting houder voor (Plastic)
3. Buis handvat (Aluminium) 21. Voetplaat (Plastic)
4. Vouw mechanisme (Aluminium) 22. Voetsteun verstelbuis (Staal)
5. Remkabel (Plastic) 23. Hielband (Nylon)
6. Trapdop (Plastic) 24. Voetsteun frame (Aluminium)
7. Achterwiel compleet 25. Voetsteun ontgrendeling (Plastic)
8. Achterwiel band (PU) 26. Voetsteun ophanging (Plastic)
9. Achterwiel spaken (Staal) 27. Stoffering zitting (Nylon)
10. Achterwiel bout (Staal) 28. Armsteun compleet
11. Achterwiel lager (Staal) 29. Armsteun (PU)
12. Remkabel (PVC) 30. Jasbeschermer (Plastic)
13. Frame (Aluminium) 31. Armsteun bevestiging (Plastic)
14. Rem (Aluminium)
15. Zitting houder achter (Plastic)
16. Kruis beugel (Aluminium)
17. Voorwiel band (PU)
18. Voorwiel bout (Staal)
7
www.multi-motion.nl

(EN)
Manual MultiMotion M5
Version 1.2 July 2018
1
www.multi-motion.nl

(EN)
BEFORE USING THIS WHEELCHAIR, YOU AS WELL AS YOUR COMPANION SHOULD
CAREFULLY READ THIS MANUAL.
General introduction
It is important that you carefully read this manual before using the wheelchair. The manual
contains important information about the safe use and maintenance of your wheelchair.
The safety instructions in this manual are general instructions that must be seen as global
guidelines. You may develop your own ways for common actions. However, we would like to
advise you to call on an expert for assistance in developing safe and effective techniques
related to your daily activities and your physical capabilities.
Your new wheelchair needs frequent and schematic maintenance. You can do a lot of this
maintenance yourself. However, we would advise you to have your wheelchair checked by an
expert once a year.
2
www.multi-motion.nl

(EN)
SAFETY PRECAUTIONS
MultiMotion is not responsible for injuries to the user or damage to property if the
recommendations and warnings have not been followed when using the wheelchair. The
wheelchair is, if the handling rules as described in this manual are followed, an extremely
safe and stable product. However, it is possible that, if the user advice is not correctly
observed, dangerous situations may arise.
General Safety Instructions
Protect your purchase by having your wheelchair checked regularly. If a part of your
wheelchair does not function properly, it is possible that a dangerous situation arises.
Periodic inspection, correct adjustment of your wheelchair and timely replacement of
broken and worn parts will result in years of trouble-free use of your wheelchair. A qualified
MultiMotion dealer, who will only use MultiMotion replacement parts, will ensure that the
long service life is guaranteed through good and preventive maintenance. Look for all
dealers at www.multi-motion.nl/dealer-pagina
General warning
You must keep your wheelchair in a good condition to ensure safety in use and handling.
Warnings for safe use:
- Do not use your wheelchair on streets or motorways, only on the sidewalks.
- The transport of your wheelchair is in all vehicles, including vehicles that have been
specially adapted and / or developed for the transport of your wheelchair, at your own risk.
We accept no liability for this. If you still want to transport your wheelchair, we advise you to
contact the carrier, your supplier and / or a recognized manufacturer of taxi fixation systems
to choose an appropriate system for your wheelchair and situation;
- Your wheelchair can not be used as a seat in a motor vehicle. Always use the permitted
vehicle seat and use the required motor vehicle restrictions when you are in a motor vehicle.
Transporting your wheelchair in a motor vehicle is at your own risk;
- Do not attempt to climb slopes without installed anti-tip wheels, and never try to get on or
off sidewalks without assistance;
- Do NOT lean over the back of the wheelchair. This can result in the wheelchair tilting;
3
www.multi-motion.nl
Inhaltsverzeichnis
Sprachen:
Beliebte Mobilitätshilfe Handbücher anderer Marken

Rhythm Healthcare
Rhythm Healthcare B3800F Bedienungsanleitung

AMF-BRUNS
AMF-BRUNS PROTEKTOR Bedienungsanleitung

Drive DeVilbiss Healthcare
Drive DeVilbiss Healthcare OTTER Bedienungsanleitung

Rhythm Healthcare
Rhythm Healthcare C500U Bedienungsanleitung

Lumex
Lumex RJ4200A Bedienungsanleitung

Rebotec
Rebotec Jumbo Bedienungsanleitung











