
Operating Voltage 12VDC,24VDC,12/24VDC
Voltage Tolerance ±15%
Current Draw 0.25A/12VDC
0.15A/24VDC
Operating Temperature 14 – 110 degrees F
Humidity 0-95%
For PDQ GR1 and GR2 Cylindrical
Locks
Faceplate
Door Stop
Latch Opening
Base
Cable
2 x M4x0.7 Screw(s)
4 x M5x0.8 Screw(s)
2 x 1-1/4 Wood Screw(s)
2 x M4x0.7 Nut(s)
2 x Butt Splice
Connector(s)
2 x Support Bracket(s)
Included Hardware Installation Instructions
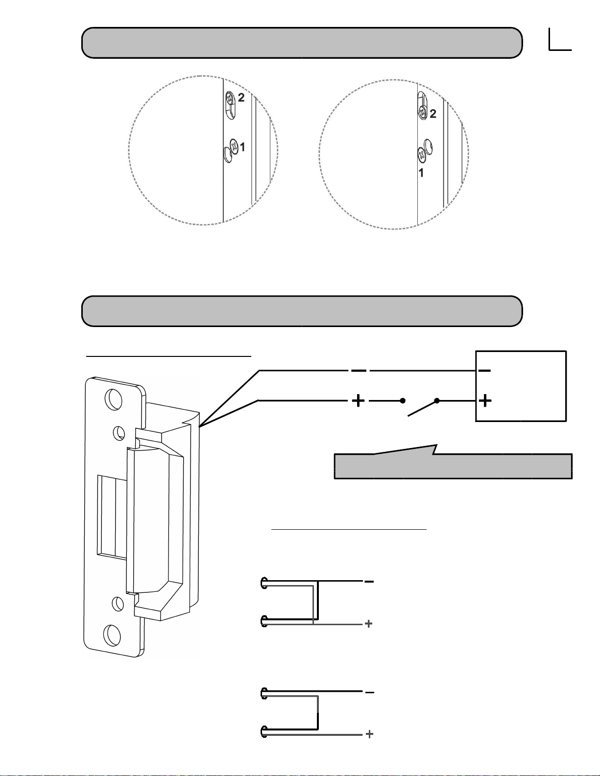
1. Verify that the strike is in the proper mode of operation
(Fail Secure/ Fail Safe). Refer to page 3
2. Prepare frame using the appropriate template for your
frame type. Refer to page 2
3. Connect the strike to power source. Refer to page 3
4. Install the strike unit in jamb cutout using the hardware
provided. Refer to page 2
1
85101
REV 0
6/30/11