
CONTENT
1Application ................................................................................................................... 3
2Operation conditions ................................................................................................... 3
3Technical specifications............................................................................................... 4
4Delivery set .................................................................................................................. 5
4.1 Standard delivery set .......................................................................................... 5
4.2 Optional equipment supplied on request ............................................................. 5
5Product description ...................................................................................................... 5
5.1 Main features ...................................................................................................... 5
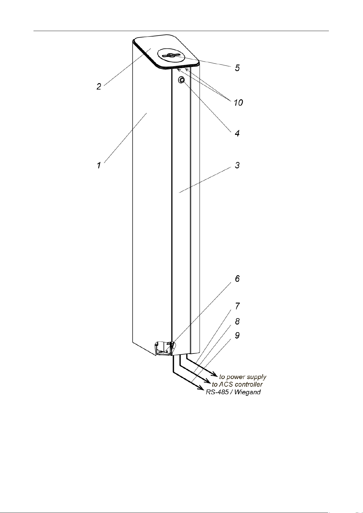
5.2 Design ................................................................................................................. 7
5.3 Parameters of signals ......................................................................................... 8
5.4 Operation algorithm ............................................................................................ 9
5.5 The use of the card capture reader in a third-party ACS (with Wiegand) .......... 10
6Marking and packaging ............................................................................................. 11
7Safety requirements .................................................................................................. 11
7.1 Installation safety requirements ........................................................................ 11
7.2 Operation safety requirements .......................................................................... 11
8Installation instructions .............................................................................................. 12
8.1 General recommendations ................................................................................ 12
8.2 Installation tools ................................................................................................ 12
8.3 Cables parameters ............................................................................................ 13
8.4 Installation ......................................................................................................... 13
8.5 Connection layouts ........................................................................................... 15
9Operation instructions ............................................................................................... 18
9.1 Power-up........................................................................................................... 18
9.2 Presenting an access card ................................................................................ 18
9.2.1 Temporary guest card .......................................................................... 18
9.2.2 Permanent card of staff ........................................................................ 19
9.3 Blocking of card capturing when filling the card container ................................ 19
9.4 Removal and installation of the card container ................................................. 19
10 Transportation and storage ....................................................................................... 20
11 Troubleshooting ......................................................................................................... 20
12 Maintenance .............................................................................................................. 20
Appendix 1. Configuring the ACS-controller to work with the card reader
in the PERCo-Web software ..................................................................... 21
Appendix 2. Configuring in the Web interface CT/L-04.2, CT-03.2
for working with the card capture reader .................................................. 26