
9 Position the cord clear of the spinning accessory. If you lose control, the cord may be cut or snagged, and your hand or arm may be
pulled into the spinning accessory.
1.3. PERSONAL SAFETY
9 Stay alert, watch what you are doing and use common sense when operating a power tool.
8DO NOT use a power tool whilst you are tired or under the inuence of drugs, alcohol, or medication.
WARNING! Lapse in concentration whilst operating power tools may result in serious injury.
9 Use personal protective equipment. Always wear eye protection. Protective equipment such as dust mask, non-skid safety shoes, hard
hat or hearing protection use for appropriate conditions will reduce personal injuries.
9 Prevent unintentional starting. Ensure the switch is in the o-position before connecting to power source and/or battery pack, picking
up or carrying the tool. Carrying power tools with your ngers on the switch or energising power tools that have the switch on invites
accidents.
9 Remove any adjusting key or wrench before turning the power tool on. A wrench or a key left attached to a rotating part of the power
tool may result in personal injury.
8DO NOT overreach. Keep proper footing and balance at all times. This enables better control of the power tool.
8DO NOT wear loose clothing or jewellery. Keep your hair, clothing and gloves away from moving parts. Loose clothes, jewellery or
long hair can be caught in moving parts.
9 If devices are provided for the connection of dust extraction and collection facilities, ensure these are connected and properly used.
8 Never lay the power tool down until the accessory has come to a complete stop.
The spinning accessory may grab the surface and pull the power tool out of your control.
8DO NOT run the power tool while carrying it at your side. Accidental contact with the spinning accessory could snag your clothing,
pulling the accessory into your body.
WARNING! DO NOT use accessories that require liquid coolants. Using water/liquid coolants may result in electrocution or shock.
1.4. POWER TOOL USE AND CARE
8DO NOT force the power tool.
9 Use the correct power tool for your application. The correct tool will do the job better and safer at the rate for which it was designed.
8DO NOT use the power tool if the switch does not turn it on and o. Any power tool that cannot be controlled with the switch is
dangerous and must be repaired.
9 Disconnect the plug from the power source and/or the battery pack from the power tool before making any adjustments, changing
accessories, or storing power tools. Such preventive safety measures reduce the risk of starting the power tool accidentally.
9 Store idle power tools out of the reach of children and DO NOT allow persons unfamiliar with these power tools or these instructions to
operate the power tool.
WARNING! Power tools are dangerous in the hands of untrained users.
9 Maintain power tools. Check for misalignment or biding of the moving parts, breakage of parts and any other condition that may aect
the power tool’s operation. If damaged, have the power tool repaired before use. Many accidents are caused by poorly maintained
power tools.
9 Keep cutting tools sharp and clean. Properly maintained cutting tools with sharp cutting edges are less likely to bind and are easier to
control.
9 Use the power tool, accessories, and tool bits etc, in accordance with these instructions, taking into account the working conditions
and the work to be performed. Use of the power tool for operations dierent from those intended could results in a hazardous situation
9 This power tool is intended to function as a grinder. Read all safety warnings, instructions, illustrations and specications provided with
this power tool. Failure to follow all instructions listed below may result in electric shock, re and/or serious injury.
9 Operations such as sanding, wire brushing, polishing or cutting-o are not recommended to be performed with this power tool.
Operations for which the power tool was not designed may create a hazard and cause personal injury.
8DO NOT use accessories which are not specically designed and recommended by the tool manufacturer. Just because the
accessory can be attached to your power tool, it does not assure safe operation.
9 The rated speed of the accessory must be at least equal to the maximum speed marked on the power tool. Accessories running faster
than their rated speed can break and y apart.
9 The outside diameter and the thickness of your accessory must be within the capacity rating of your power tool. Incorrectly sized
accessories cannot be adequately guarded or controlled.
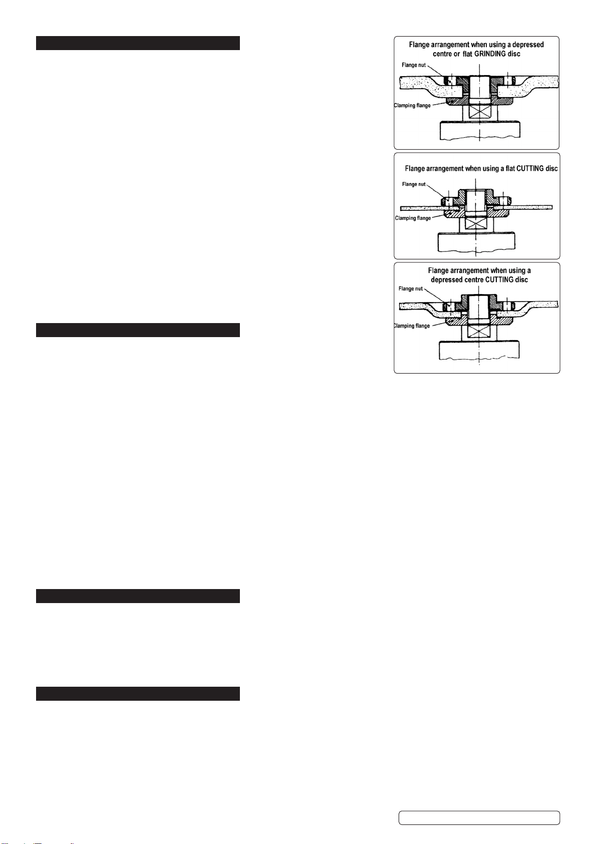
9 Threaded mounting of accessories must match the grinder spindle thread. For accessories mounted by anges, the arbour hole of the
accessory must t the locating diameter of the ange. Accessories that DO NOT match the mounting hardware of the power tool will
run out of balance, vibrate excessively, and may cause loss of control.
8DO NOT use a damaged accessory. Before each use inspect the accessory such as abrasive wheels for chips and cracks, backing
pad for cracks, tear or excess wear, wire brush for loose or cracked wires. If power tool or accessory is dropped, inspect for damage
or install an undamaged accessory. After inspecting and installing an accessory, position yourself and bystanders away from the plane
of the rotating accessory and run the power tool at maximum no-load speed for one minute. Damaged accessories will normally break
apart during this test time.
9 Wear personal protective equipment. Depending on application, use face shield, safety goggles or safety glasses. As appropriate,
wear dust mask, hearing protectors, gloves and workshop apron capable of stopping small abrasive or workpiece fragments. The eye
protection must be capable of stopping ying debris generated by various operations. The dust mask or respirator must be capable of
ltrating particles generated by your operation. Prolonged exposure to high intensity noise may cause hearing loss.
1.5. SERVICE
9 Have your power tool services by a qualied repair person using only identical replacement parts. This will ensure that the safety of the
power tool is maintained.
9 Regularly clean the power tool’s air vents. The motor’s fan will draw the dust inside the housing and excessive accumulation of
powdered metal may cause electrical hazards.
1.6. HAND ARM VIBRATION
WARNING! This tool may cause Hand Arm Vibration Syndrome if its use is not managed adequately.
9 This tool is subject to the vibration testing section of the Machinery Directive 2006/42/EC.
9 This tool is to be operated in accordance with these instructions.
NOTE: The application of the tool to a sole specialist task may produce a different average vibration emission. We recommend that a
specific
evaluation of the vibration emission is conducted prior to commencing with a specialist task.
A health and safety assessment by the user
(or employer) will need to be carried out to determine the suitable duration of use for each tool.
Original Language Version
© Jack Sealey Limited SG115E, SG115EHV Issue 1 22/05/23