
Cautions
1.
2.
3.
Table of Contents
4.
5.
6.
7.
8.
9.
A new lock is defined as always in open mode until it is locked once by a IC S50/S70 card.
Please register an authorized card, a time sync card, and a room card initially for the
new lock.
The lock is equipped with keys for manual unlocking. Remove the keys from the
package and keep them in a safe place.
To power on the lock, four alkaline AA batteries (not included) are required. Non-
alkaline and rechargeable batteries ARE NOT RECOMMENDED.
Do not remove the batteries when the lock is in working state.
When the battery power is low, the lock will beep to remind the user to replace the
batteries. Make sure not to mix up the polarities while replacing the batteries.
Avoid contact with corrosive substances. Do not hang any object on the handle.
The built-in software manages the operation of access cards. Please refer the
software user manual.
For further queries, please contact the seller.
What's in Box...................................................................................................................1
Installation Diagram.......................................................................................................2
Installation Procedure....................................................................................................2
1. Door Opening Direction...........................................................................................................................2
2. Drilling Holes on the Door......................................................................................................................4
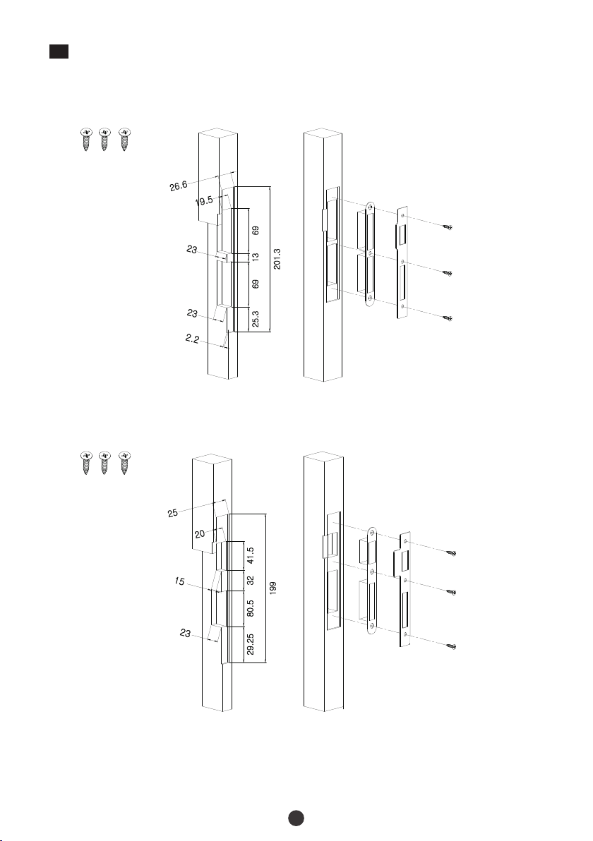
3. Installation of Mortise..............................................................................................................................5
4. Installation of Outdoor Unit...................................................................................................................6
5. Installation Indoor Unit............................................................................................................................7
6. Install Batteries............................................................................................................................................7
7. Installation of Strike Plate and Box.......................................................................................................8
8. Test the Lock by Mechanical Key.......................................................................................................9