
Table of Contents
1. SAFETY AND EMC INSTRUCTIONS ................................................................................................. 1
1-1. TRANSPORTATION AND STORAGE...............................................................................................................1
1-2. PREPARATION.......................................................................................................................................1
1-3. INSTALLATION ......................................................................................................................................1
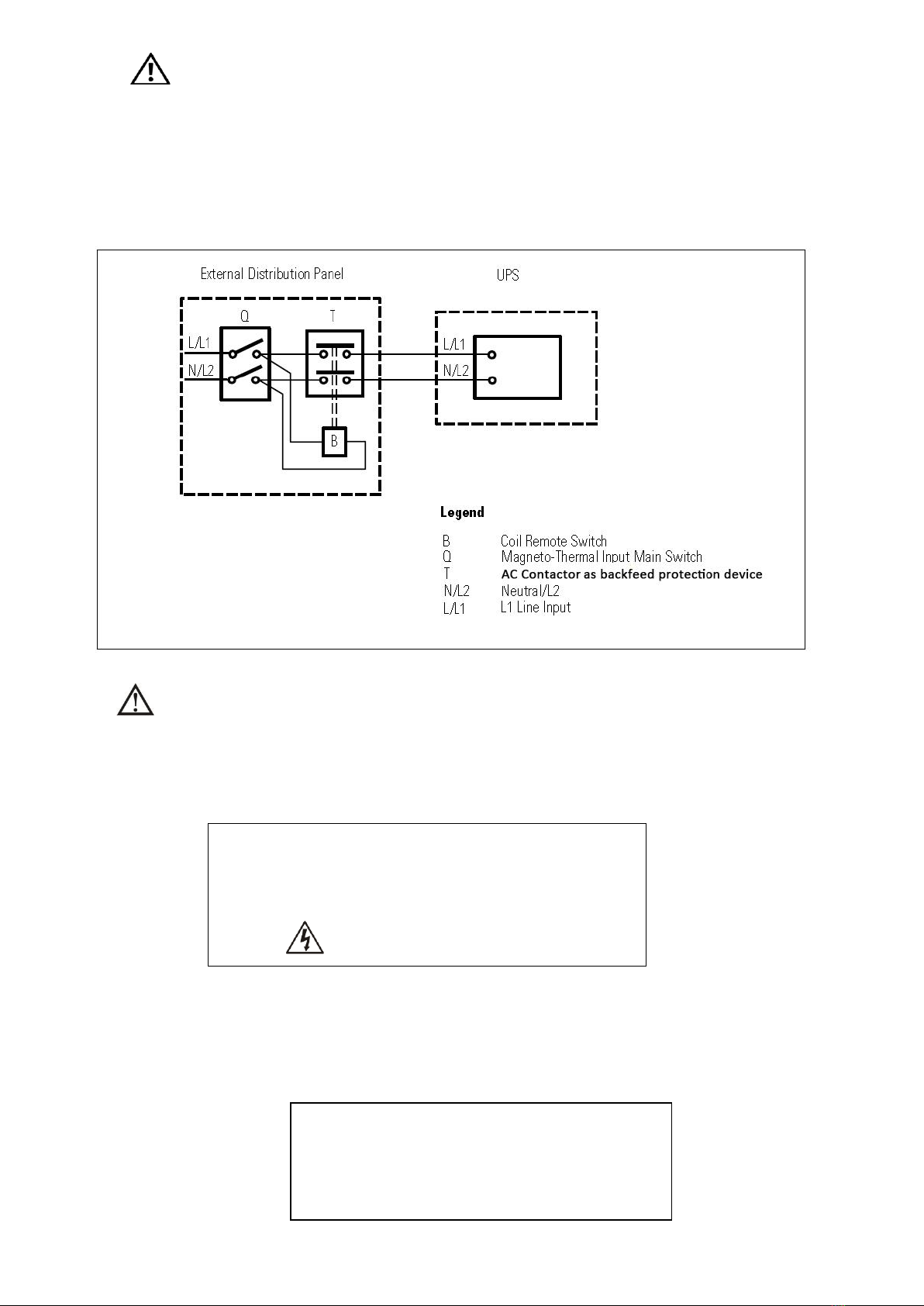
1-4. CONNECTION WARNINGS ...............................................................................................................2
1-5. OPERATION .........................................................................................................................................3
1-6. STANDARDS .........................................................................................................................................3
2. INSTALLATION AND OPERATION .................................................................................................. 4
2-1. UNPACKING AND INSPECTION ...................................................................................................................4
2-2. REAR PANEL VIEW.................................................................................................................................4
2-3. RACK/TOWER INSTALLATION (ONLY FOR RT MODEL) ......................................................................................6
2-4. SINGLE UPS INSTALLATION .....................................................................................................................7
2-5. UPS INSTALLATION FOR PARALLEL SYSTEM..................................................................................................9
2-6. SOFTWARE INSTALLATION .....................................................................................................................10
3. OPERATIONS................................................................................................................................ 11
3-1. BUTTON OPERATION ............................................................................................................................11
3-2. LED INDICATORS AND LCD PANEL ..........................................................................................................11
3-3. AUDIBLE ALARM..................................................................................................................................12
3-4. SINGLE UPS OPERATION ......................................................................................................................13
3-5. PARALLEL OPERATION ..........................................................................................................................16
3-6. ABBREVIATION MEANING IN LCD DISPLAY.................................................................................................17
3-7. LCD SETTING ....................................................................................................................................18
3-8. OPERATING MODE/STATUS DESCRIPTION .................................................................................................24
3-9. FAULT CODE ......................................................................................................................................26
3-10. WARNING INDICATOR ........................................................................................................................27
3-11 WARNING CODE ................................................................................................................................27
4. TROUBLE SHOOTING ................................................................................................................... 28
5. STORAGE AND MAINTENANCE..................................................................................................... 29
5-1. STORAGE ..........................................................................................................................................29
5-2. MAINTENANCE....................................................................................................................................29
6. SPECIFICATIONS ......................................................................................................................... 30