
8
www.debem.it
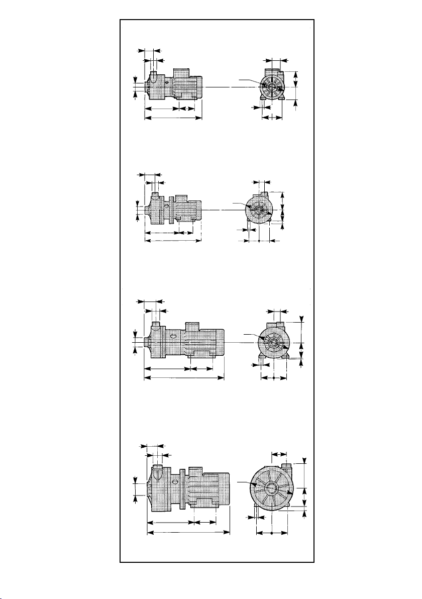
CARACTERÍSTICAS TÉCNICAS
Los datos de prestaciones se reeren a las versiones estándar. Los valores de “Caudal NOMINAL” y “Prevalencia MÁX” se
reeren al bombeo de agua a 18ºC con aspiración e impulsión libres.
TECHNICAL SPECIFICATIONS
The data related to performance refer to standard procedures. The NOMINAL ow and the MAX head values refer to pumping
of water at 18°C with free-ow suction and delivery.
GB
- el uso con productos en suspensión de peso especíco su-
perior al del líquido (por ejemplo, agua con arena);
- con temperaturas y características del producto disconfor-
mes con las características de la bomba;
- el uso con aguas particularmente duras o muy cargadas de
producto.
ATENCIÓN: dada la innumerable variedad de pro-
ductos y composiciones químicas, se considera
al usuario como el mejor conocedor de las com-
patibilidades y reacciones con los materiales de que está
hecha la bomba. Por tanto, antes de utilizarla, se deben
efectuar todas las revisiones, pruebas y peritajes necesa-
rios para evitar situaciones incluso remotamente peligro-
sas, que están fuera del conocimiento del fabricante y de
las que, por tanto, no es responsable.
ATENCIÓN: todo uso de la bomba que se aparte
de las instrucciones dadas en el manual de uso y
mantenimiento supone la anulación de los requi-
sitos de seguridad establecidos.
Se han analizado los riesgos vinculados al uso de la bom-
ba en las exactas condiciones prescritas en el manual de
uso y mantenimiento: el análisis de los riesgos ligados a
la puesta en interfaz con otros componentes de la planta,
es competencia del instalador.
- with products in suspension that have a higher specic
weight than the liquid (e.g. water and sand);
- with product temperatures and characteristics of the pump;
- with water that is particularly hard and/ or full of deposits.
WARNING: due to the wide variety of products
and chemical compositions, the operator is con-
sidered to be the best evaluator of reactions and
compatibility with the pump’s construction materials.
Therefore, before use, carry out all necessary checks and
tests to avoid any possible hazardous situation, that can-
not be predicted or for which the manufacturer cannot be
held liable.
WARNING: use of the pump that does not com-
ply with the instructions indicated in the use and
maintenance manual will cancel compliance to the
requirements for safety.
The risks associated with the use of the pump under the
exact conditions set forth in the use and maintenance
manual have been analysed, whilst the analysis of the ri-
sks associated with the interface with other system com-
ponents must be carried out by the installer.
GB
!
!
!
!
I
GB
Principio di funzionamento
Le pompe centrifughe orizzontali MB
devono essere instalalte sotto battente
con opportuni accorgimenti per evitare la
formazione di vortici e la conseguente
aspirazione di bolle d’aria. Deve essere
fatta funzionare solo ed esclusivamente
a POMPA INVASATA. La girante,
solidale all’albero ed al motore montato
in presa diretta, viene messa in rotazio-
ne ad una velocità prestabilita (max
2.900 giri/min) creando, per effetto
centrifugo, un’aspirazione sul condotto
centrale e una mandata su condotto
periferico.
WARNING: use of MB
horizontal, centrifugal pumps or
anything other than that previously
described is to be considered
improper use and is forbidden by
Debem.
Improper use
It is SPECIFICALLY forbidden to use
MB pumps:
- for pumping petrol and/or flammable
liquids;
- for pumping food liquids;
- with an opposite rotation to the one
specified;
- in self-priming working conditions;
- for suction in the presence of
vortexes, turbulence or air bubbles;
-for vacuum service;
- with liquids that are chemically
incompatible with the manufacturing
materials;
- with products in suspension that have
a higher specific weight than the
liquid (e.g. water and sand);
- with product temperatures and
characteristics of the pump;
- with water that is particularly hard and/
or full of deposits.
Working principles
MB horizontal, centrifugal pumps must
be installed below head with
appropriate procedures to avoid vortex
formation and consequent air bubble
suction. The pump must work ONLY
when FLOODED.
The impeller - integrally joined to the
shaft and to the direct drive mounted
motor- must be set in rotation at a pre-
set speed (max 2.900 revs/min); its
centrifugal effect activates suction in
the main duct and delivery in the
secondary duct
7
ATTENZIONE: qualsiasi altro
impiego della pompa centrifu-
ga orizzontale MB differente da
quanto precedentemente precisato
è considerato improprio e quindi
vietato dalla ditta Debem.
Usi impropri
In particolare È VIETATO l’uso della
pompa MB per:
- il pompaggio di benzina e/o liquidi
infiammabili;
- il pompaggio di liquidi alimentari;
- l’impiego con senso di rotazione
contrario a quello stabilito;
- l’impiego autoadescante;
- l’impiego con l’aspirazione in presen-
za di vortici, turbolenze o bolle d’aria;
- l’impiego a vuoto;
- l’impiego con liquidi da pompare incom-
patibili chimicamente con i materiali di
costruzione;
- l’impiego con prodotti in sospensione di
peso specifico superiore a quello del
liquido (esempio acqua con sabbia);
- con temperature e caratteristiche del
prodotto in disaccordo con le caratteri-
stiche della pompa;
- l’impiego con acque particolarmente
dure e/o molto cariche di prodotti da
riporto.
fig. 1
MB-TL
I
GB
Principio di funzionamento
Le pompe centrifughe orizzontali MB
devono essere instalalte sotto battente
con opportuni accorgimenti per evitare la
formazione di vortici e la conseguente
aspirazione di bolle d’aria. Deve essere
fatta funzionare solo ed esclusivamente
a POMPA INVASATA. La girante,
solidale all’albero ed al motore montato
in presa diretta, viene messa in rotazio-
ne ad una velocità prestabilita (max
2.900 giri/min) creando, per effetto
centrifugo, un’aspirazione sul condotto
centrale e una mandata su condotto
periferico.
WARNING: use of MB
horizontal, centrifugal pumps or
anything other than that previously
described is to be considered
improper use and is forbidden by
Debem.
Improper use
It is SPECIFICALLY forbidden to use
MB pumps:
- for pumping petrol and/or flammable
liquids;
- for pumping food liquids;
- with an opposite rotation to the one
specified;
- in self-priming working conditions;
- for suction in the presence of
vortexes, turbulence or air bubbles;
-for vacuum service;
- with liquids that are chemically
incompatible with the manufacturing
materials;
- with products in suspension that have
a higher specific weight than the
liquid (e.g. water and sand);
- with product temperatures and
characteristics of the pump;
- with water that is particularly hard and/
or full of deposits.
Working principles
MB horizontal, centrifugal pumps must
be installed below head with
appropriate procedures to avoid vortex
formation and consequent air bubble
suction. The pump must work ONLY
when FLOODED.
The impeller - integrally joined to the
shaft and to the direct drive mounted
motor- must be set in rotation at a pre-
set speed (max 2.900 revs/min); its
centrifugal effect activates suction in
the main duct and delivery in the
secondary duct
7
ATTENZIONE: qualsiasi altro
impiego della pompa centrifu-
ga orizzontale MB differente da
quanto precedentemente precisato
è considerato improprio e quindi
vietato dalla ditta Debem.
Usi impropri
In particolare È VIETATO l’uso della
pompa MB per:
- il pompaggio di benzina e/o liquidi
infiammabili;
- il pompaggio di liquidi alimentari;
- l’impiego con senso di rotazione
contrario a quello stabilito;
- l’impiego autoadescante;
- l’impiego con l’aspirazione in presen-
za di vortici, turbolenze o bolle d’aria;
- l’impiego a vuoto;
- l’impiego con liquidi da pompare incom-
patibili chimicamente con i materiali di
costruzione;
- l’impiego con prodotti in sospensione di
peso specifico superiore a quello del
liquido (esempio acqua con sabbia);
- con temperature e caratteristiche del
prodotto in disaccordo con le caratteri-
stiche della pompa;
- l’impiego con acque particolarmente
dure e/o molto cariche di prodotti da
riporto.
fig. 1
fig. 2
MB-TS
E
E